Suppr超能文献

Tumor trapping of 5-fluorouracil: in vivo 19F NMR spectroscopic pharmacokinetics in tumor-bearing humans and rabbits.

作者信息

Wolf W, Presant C A, Servis K L, el-Tahtawy A, Albright M J, Barker P B, Ring R, Atkinson D, Ong R, King M

机构信息

Radiopharmacy Program, University of Southern California, Los Angeles 90033.

出版信息

Proc Natl Acad Sci U S A. 1990 Jan;87(1):492-6. doi: 10.1073/pnas.87.1.492.

Abstract

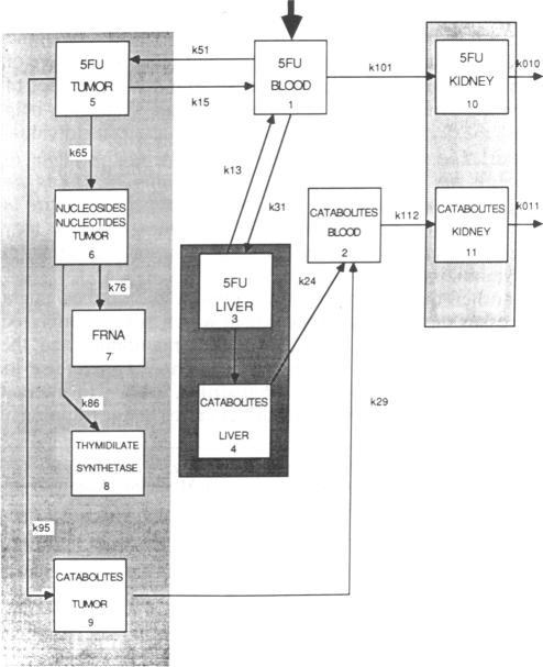
The pharmacokinetics of 5-fluorouracil (5FU) were studied in vivo in patients with discrete tumors and in rabbits bearing VX2 tumors by using 19F NMR spectroscopy. The human studies were conducted in a 1.5-T Magnetom magnetic resonance imager (Siemens), and the rabbit studies were conducted in a 4.7-T GE/Nicolet 33-cm bore magnet. Free 5FU was detected in the tumors of four of the six patients and in all VX2 tumors but not in normal rabbit tissues. No other metabolites were seen in these tumors, contrary to the extensive catabolism we had previously documented using 19F NMR spectroscopy in both human and animal livers. The tumor pool of free 5FU in those human tumors that trapped 5FU was determined to have a half-life of 0.4-2.1 hr, much longer than expected and significantly longer than the half-life of 5FU in blood (5-15 min), whereas the half-life of trapped 5FU in the VX2 tumors ranged from 1.05 to 1.22 hr. In this initial experience, patient response to chemotherapy may correlate with extent of trapping free 5FU in the human tumors. These studies document that NMR spectroscopy is clinically feasible in vivo, allows noninvasive pharmacokinetic analyses at a drug-target tissue in real time, and may produce therapeutically important information at the time of drug administration. Demonstration of the trapping of 5FU in tumors provides both a model for studying metabolic modulation in experimental tumors (in animals) and a method for testing modulation strategies clinically (in patients).

摘要
https://cdn.ncbi.nlm.nih.gov/pmc/blobs/24ff/53290/2be0d9d39968/pnas01026-0514-a.jpg

文献AI研究员

20分钟写一篇综述,助力文献阅读效率提升50倍。

立即体验

用中文搜PubMed

大模型驱动的PubMed中文搜索引擎

马上搜索

文档翻译

学术文献翻译模型,支持多种主流文档格式。

立即体验