Chu Yo-Lun, Chen Cheng-Kuang, Liu Yu-Chia, Lu Tung-Wu, Liaw Chen-Kun
Institute of Biomedical Engineering, National Taiwan University, Taipei, 100, Taiwan.
Department of Orthopaedics, Taipei Municipal Wanfang Hospital, Taipei, 11696, Taiwan.
BMC Musculoskelet Disord. 2020 Feb 10;21(1):92. doi: 10.1186/s12891-020-3118-7.
Compared to other types of surgeries, minimally invasive surgeries (MISs) of humeral shaft fractures are associated with less radial nerve injury, less soft tissue injury and higher union rate. However, malrotation often occurs in MISs when closed reduction methods are used. This study aims to define specific palpable landmarks to help surgeons determine the correct torsional angle and reduce the incidence of malrotation.
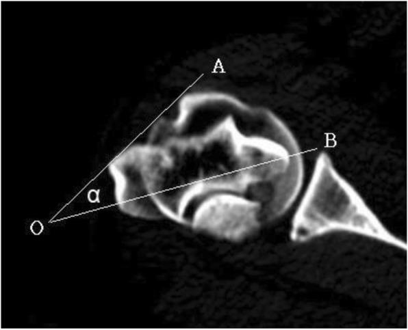
Twenty-eight normal humeral computed tomography scans were retrieved from our image database. One line was drawn through the vertices of the intertubercular sulcus of the humeral head in the coronal view, and another line was drawn through the longest axis between the medial and lateral condyles in the coronal view. The angle between these two lines was measured at least 3 times for each scan.
The profile of the intertubercular sulcus tangent line of the humeral head and the axis of the distal humerus was identified as the most accurate method for assessing the precision of torsion during MIS for humeral shaft fractures. The transepicondylar axis line is more internally rotated than the intertubercular sulcus tangent line. The mean angle was measured to be 41.1 degrees.
The axis of the distal humeral condyles is internally rotated by approximately 41.1 degrees compared with the intertubercular sulcus tangent line of the humeral head. Minimally invasive surgeries can be performed by using these palpable landmarks. The torsional deformities can be reduced with the proper angle adjustment without the need for fluoroscopy. It can also be used to treat unstable comminuted humeral fractures.
Retrospective Study, Diagnostic study, Level III.
与其他类型的手术相比,肱骨干骨折的微创手术(MIS)导致的桡神经损伤更少、软组织损伤更少且愈合率更高。然而,在采用闭合复位方法进行MIS时,常常会出现旋转不良。本研究旨在确定特定的可触及标志,以帮助外科医生确定正确的扭转角度并降低旋转不良的发生率。
从我们的图像数据库中检索出28例正常肱骨计算机断层扫描图像。在冠状位视图中,一条线穿过肱骨头结节间沟的顶点,另一条线穿过冠状位视图中内外髁之间的最长轴。对每张扫描图像至少测量这两条线之间的角度3次。
肱骨头结节间沟切线轮廓与肱骨远端轴线被确定为评估肱骨干骨折MIS期间扭转精度的最准确方法。髁间轴线比结节间沟切线更向内旋转。平均角度测量为41.1度。
与肱骨头结节间沟切线相比,肱骨远端髁的轴线向内旋转约41.1度。可利用这些可触及标志进行微创手术。通过适当的角度调整可减少扭转畸形,无需使用荧光透视。它还可用于治疗不稳定的粉碎性肱骨骨折。
回顾性研究、诊断性研究,三级。