Suppr超能文献

条件开放性与患有雌雄同体/性别发育差异的个体的心理健康状况有关:来自欧洲多中心数据的结构方程模型。

Condition openness is associated with better mental health in individuals with an intersex/differences of sex development condition: structural equation modeling of European multicenter data.

机构信息

Department of Plastic, Reconstructive and Hand Surgery, Amsterdam UMC (VUmc), Amsterdam, the Netherlands.

Department of Medical Psychology, Amsterdam UMC (VUmc), Amsterdam, the Netherlands.

出版信息

Psychol Med. 2023 Apr;53(6):2229-2240. doi: 10.1017/S0033291721004001. Epub 2021 Oct 19.

Abstract

BACKGROUND

Openness on one's health condition or (stigmatized) identity generally improves mental health. Intersex or differences of sex development (DSD) conditions have long been kept concealed and high levels of (internalizing) mental health problems are reported. This study examines the effects of condition openness on anxiety and depression and the role of mediating concepts in this population.

METHODS

Cross-sectional data of individuals of 16 years and older with an intersex/DSD condition was collected in 14 specialized European clinics as part of the dsd-LIFE study. Patient-reported measures were taken on openness and shame (Coping with DSD), self-esteem (Rosenberg Self-Esteem Scale), satisfaction with care (CSQ4), anxiety and depression (HADS). Scores were compared per clinical group and data were analyzed via structural equation modeling (SEM) to calculate prediction and mediation models.

RESULTS

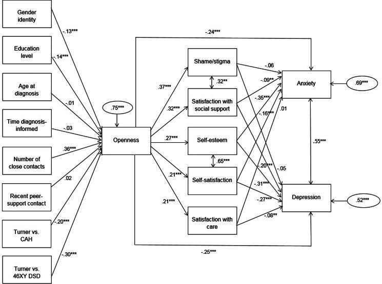
Data of 903 individuals were included in this study (Turner syndrome ( = 284), 46, XY DSD ( = 233), CAH ( = 206) and Klinefelter syndrome ( = 180)). Participants were moderately open on their condition. High levels of both anxiety and depression were observed across the sample. In SEM analysis, the tested models predicted 25% of openness, 31% of anxiety and 48% of depression. More condition openness directly predicted lower anxiety and depression symptoms, as well as indirectly through increased self-esteem, self-satisfaction and satisfaction with social support.

CONCLUSIONS

Condition openness is associated with lower anxiety and depression in individuals with an intersex/DSD condition. Healthcare may provide the necessary knowledge and skills to employ one's optimal level of self-disclosure in order to improve mental health.

摘要

背景

公开个人的健康状况或(被污名化的)身份通常会改善心理健康。性发育障碍(DSD)的情况长期以来一直被隐瞒,据报道,这类人群存在高水平的(内化)心理健康问题。本研究旨在检验该人群中对健康状况的公开程度对焦虑和抑郁的影响,以及其中的中介概念的作用。

方法

作为 dsd-LIFE 研究的一部分,在 14 家欧洲专门诊所中收集了 16 岁及以上患有性发育障碍/DSD 的个体的横断面数据。采用 Coping with DSD(应对 DSD)量表评估开放性和羞耻感、Rosenberg 自尊量表评估自尊、CSQ4(护理满意度)评估护理满意度、HADS(焦虑和抑郁量表)评估焦虑和抑郁。根据临床分组比较评分,并通过结构方程建模(SEM)进行数据分析,以计算预测和中介模型。

结果

本研究共纳入 903 名个体的数据(特纳综合征(n=284)、46,XY DSD(n=233)、CAH(n=206)和 Klinefelter 综合征(n=180))。参与者对自己的病情表现出中等程度的开放性。整个样本中均观察到较高水平的焦虑和抑郁。在 SEM 分析中,所测试的模型预测了开放性的 25%、焦虑的 31%和抑郁的 48%。更多的病情公开度直接预测了焦虑和抑郁症状的降低,也通过提高自尊、自我满意度和对社会支持的满意度间接预测。

结论

在患有性发育障碍/DSD 的个体中,对健康状况的公开程度与较低的焦虑和抑郁相关。医疗保健可以提供必要的知识和技能,以帮助患者在改善心理健康方面实现最佳的自我披露水平。

https://cdn.ncbi.nlm.nih.gov/pmc/blobs/181d/10123827/b4a7c625d2d9/S0033291721004001_fig1.jpg

文献AI研究员

20分钟写一篇综述,助力文献阅读效率提升50倍。

立即体验

用中文搜PubMed

大模型驱动的PubMed中文搜索引擎

马上搜索

文档翻译

学术文献翻译模型,支持多种主流文档格式。

立即体验