Suppr超能文献

冻融循环对煤孔隙结构及瓦斯排放特性的影响

Effect of Freeze-Thaw Cycles on Coal Pore Structure and Gas Emission Characteristics.

作者信息

Yuan Junwei, Xia Jingyi, Wang Yao, Chen Min, Chen Jianxun

机构信息

School of Safety Science and Engineering, Henan Polytechnic University, Jiaozuo 454000, China.

MOE Engineering Research Center of Coal Mine Disaster Prevention and Emergency Rescue, Jiaozuo 454000, China.

出版信息

ACS Omega. 2022 Apr 27;7(18):16087-16096. doi: 10.1021/acsomega.2c01413. eCollection 2022 May 10.

Abstract

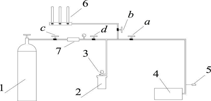
Here, we aim to clarify the influence of freeze-thaw cycle on pore structure and gas emission characteristics of coal body and to improve the application level of antipermeability and pumping technology based on freezing-induced cracking in a low-permeability coal seam. Freeze-thaw cycles of anthracite and coking coal were carried out in a freezer (-20 °C). Nuclear magnetic resonance was used to test the transformation characteristics of the freeze-thaw cycles on the pore structure of coal samples. The effect of freeze-thaw cycles on the gas emission characteristics of coal particles (1-3 mm) was studied using a self-built gas emission experimental platform (adsorption equilibrium gas pressure was 1.5 MPa). The results show that the pore structure of coal samples changes after the freeze-thaw cycle and the number of large pores and medium pores increases. The amount of gas emission, emission velocity, and gas diffusion coefficient of anthracite and coking coal all increase to different degrees after freeze-thaw cycles. The freeze-thaw damage of coking coal is greater than that of anthracite. In the third freeze-thaw cycle, the increase of each parameter is the largest, and the third freeze-thaw cycle is considered the optimal number of freezing-thawing cycles. The research results provide a theoretical basis for the production of low-permeability coal seam.

摘要

在此,我们旨在阐明冻融循环对煤体孔隙结构和瓦斯排放特性的影响,并提高基于低渗透煤层冻融致裂的防渗透与抽采技术的应用水平。在冷冻箱(-20℃)中对无烟煤和焦煤进行冻融循环。利用核磁共振测试冻融循环对煤样孔隙结构的转化特性。使用自行搭建的瓦斯排放实验平台(吸附平衡瓦斯压力为1.5MPa)研究冻融循环对煤颗粒(1 - 3mm)瓦斯排放特性的影响。结果表明,冻融循环后煤样的孔隙结构发生变化,大孔和中孔数量增加。无烟煤和焦煤的瓦斯排放量、排放速度和瓦斯扩散系数在冻融循环后均有不同程度增加。焦煤的冻融损伤大于无烟煤。在第三次冻融循环时,各参数的增幅最大,第三次冻融循环被认为是最佳冻融循环次数。研究结果为低渗透煤层开采提供了理论依据。

https://cdn.ncbi.nlm.nih.gov/pmc/blobs/e8e8/9096933/7ce539cb3828/ao2c01413_0002.jpg

文献AI研究员

20分钟写一篇综述,助力文献阅读效率提升50倍。

立即体验

用中文搜PubMed

大模型驱动的PubMed中文搜索引擎

马上搜索

文档翻译

学术文献翻译模型,支持多种主流文档格式。

立即体验