Suppr超能文献

关节腔内注射万古霉素预防髋关节半关节置换术患者感染的疗效

Efficacy of Intraarticular Vancomycin in Preventing Infection in Patients Undergoing Hip Hemiarthroplasty.

作者信息

Mohammadhoseini Payam, Mohammadi Seyed Mohammad, Aghaei Aghdam Amir, Asgari Mohsen

机构信息

Department of Orthopedics and Traumatology, Faculty of Medicine, Ahvaz Jundishapur University of Medical Sciences, Ahvaz, Iran.

出版信息

Galen Med J. 2024 Oct 18;13:e3382. doi: 10.31661/gmj.v12i.3382. eCollection 2024.

Abstract

BACKGROUND

Hip fractures are among the top ten causes of disability in adults worldwide. Patients with hip fracture are at significant risk of mortality and morbidity and reduced quality of life. The use of intra-wound vancomycin has been reported to be effective in reducing the incidence of infection in orthopedic surgeries. This study was conducted with the aim of investigating the effect of intra-articular vancomycin in preventing infection in patients undergoing hip hemiarthroplasty.

MATERIALS AND METHODS

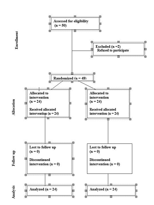
This double-blind controlled clinical trial study was conducted on 48 patients with femoral neck fracture candidates for hip hemiarthroplasty hemiarthroplasty in Orthopedic clinic of Golestan and Imam Khomeini Hospital, Ahvaz, Iran between June and November 2023. Eligible patients were divided into two equal groups. The intervention group received 1gram vancomycin intra-articularly during the operation before closure of fascia, and the control group did not receive vancomycin. The patients were followed up for 6 months after the operation, and the rate of superficial infection, periprosthetic joint infection (PJI) and wound complications were compared in two groups. The obtained data were statistically analyzed with IBM SPSS Statistics 21.0 for Windows.

RESULTS

The vancomycin group and the control group had no significant difference in the incidence of overall infection. The PJI in vancomycin and control groups were 4.16% and 8.33%, respectively. This difference was not statistically considerable (P=0.55). The results showed the incidence of superficial estimated 8.33% in vancomycin group and 4.16% in control group with no considerable difference in infection (P=0.52). Moreover, there was no meaningful difference in side effects between the two groups (P=0.63). There was no significant difference in wound complications between the two groups (P=0.3). After the intervention, it was found that the ESR value in the control group and vancomycin group was 32.79±9.94, 31.83±9.78 mm/hr, respectively (P=0.73).

CONCLUSION

Intra-articular injection of 1gram of vancomycin suspension did not reduce the overall, superficial and deep infection after surgery. It is suggested that more clinical trial studies with higher sample size be conducted in order to determine the effect of intra-articular vancomycin in preventing infection in patients undergoing hip hemiarthroplasty.

摘要

背景

髋部骨折是全球成年人致残的十大原因之一。髋部骨折患者面临着较高的死亡和发病风险,生活质量也会下降。据报道,伤口内使用万古霉素可有效降低骨科手术中的感染发生率。本研究旨在调查关节腔内注射万古霉素对接受半髋关节置换术患者预防感染的效果。

材料与方法

本双盲对照临床试验于2023年6月至11月在伊朗阿瓦士的戈勒斯坦骨科诊所和伊玛目霍梅尼医院对48例拟行半髋关节置换术的股骨颈骨折患者进行。符合条件的患者被平均分为两组。干预组在手术关闭筋膜前关节腔内注射1克万古霉素,对照组未注射万古霉素。术后对患者进行6个月的随访,比较两组的浅表感染率、假体周围关节感染(PJI)率和伤口并发症发生率。所得数据使用IBM SPSS Statistics 21.0 for Windows进行统计学分析。

结果

万古霉素组和对照组在总体感染发生率上无显著差异。万古霉素组和对照组的PJI发生率分别为4.16%和8.33%。这种差异无统计学意义(P = 0.55)。结果显示,万古霉素组的浅表感染发生率估计为8.33%,对照组为4.16%,感染方面无显著差异(P = 0.52)。此外,两组在副作用方面无显著差异(P = 0.63)。两组在伤口并发症方面无显著差异(P = 0.3)。干预后发现,对照组和万古霉素组的血沉值分别为32.79±9.94、31.83±9.78毫米/小时(P = 0.73)。

结论

关节腔内注射1克万古霉素混悬液并未降低术后的总体、浅表和深部感染率。建议开展更多样本量更大的临床试验研究,以确定关节腔内注射万古霉素对接受半髋关节置换术患者预防感染的效果。

https://cdn.ncbi.nlm.nih.gov/pmc/blobs/d963/11521581/0705d0011d76/GMJ-13-e3382-g1.jpg

文献检索

告别复杂PubMed语法,用中文像聊天一样搜索,搜遍4000万医学文献。AI智能推荐,让科研检索更轻松。

立即免费搜索

文件翻译

保留排版,准确专业,支持PDF/Word/PPT等文件格式,支持 12+语言互译。

免费翻译文档

深度研究

AI帮你快速写综述,25分钟生成高质量综述,智能提取关键信息,辅助科研写作。

立即免费体验