Suppr超能文献

基于 P300 的脑-机接口的人因工程学和工效学。

The Human Factors and Ergonomics of P300-Based Brain-Computer Interfaces.

机构信息

Department of English, North Carolina State University, Raleigh, NC 27695, USA.

Fitts Department of Industrial and Systems Engineering, North Carolina State University, Raleigh, NC 27695, USA.

出版信息

Brain Sci. 2015 Aug 10;5(3):318-56. doi: 10.3390/brainsci5030318.

Abstract

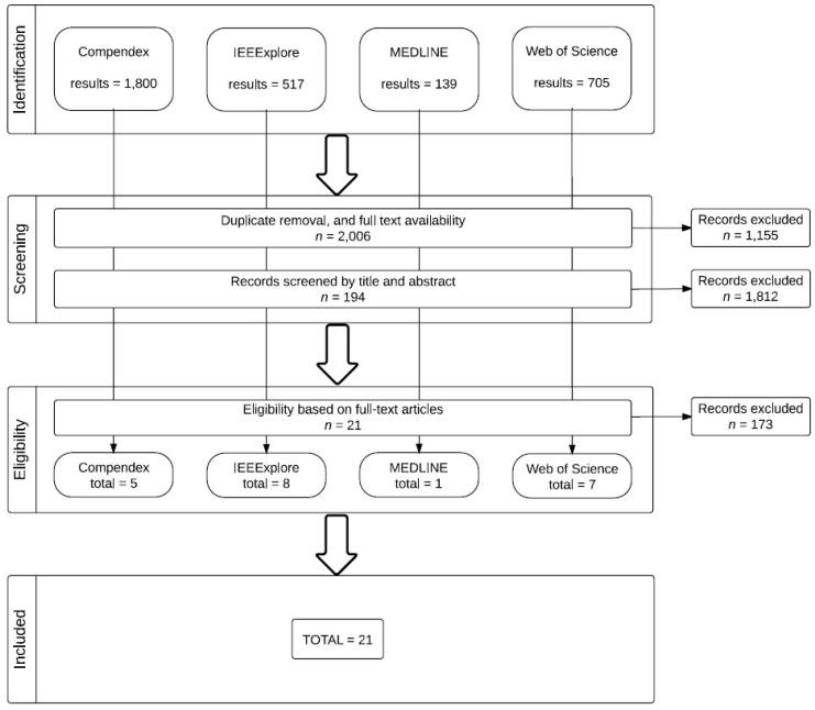
Individuals with severe neuromuscular impairments face many challenges in communication and manipulation of the environment. Brain-computer interfaces (BCIs) show promise in presenting real-world applications that can provide such individuals with the means to interact with the world using only brain waves. Although there has been a growing body of research in recent years, much relates only to technology, and not to technology in use-i.e., real-world assistive technology employed by users. This review examined the literature to highlight studies that implicate the human factors and ergonomics (HFE) of P300-based BCIs. We assessed 21 studies on three topics to speak directly to improving the HFE of these systems: (1) alternative signal evocation methods within the oddball paradigm; (2) environmental interventions to improve user performance and satisfaction within the constraints of current BCI systems; and (3) measures and methods of measuring user acceptance. We found that HFE is central to the performance of P300-based BCI systems, although researchers do not often make explicit this connection. Incorporation of measures of user acceptance and rigorous usability evaluations, increased engagement of disabled users as test participants, and greater realism in testing will help progress the advancement of P300-based BCI systems in assistive applications.

摘要

严重神经肌肉障碍个体在交流和环境操作方面面临诸多挑战。脑机接口(BCI)展现出了应用于现实世界的前景,为这些个体提供了仅使用脑电波与世界交互的手段。尽管近年来有越来越多的研究,但其中许多仅与技术相关,而与实际应用无关——即,用户使用的实际辅助技术。本综述检查了文献,以突出与 P300 脑机接口的人为因素和工效学(HFE)相关的研究。我们评估了三个主题的 21 项研究,以直接改善这些系统的 HFE:(1)在异类范式内的替代信号激发方法;(2)在当前 BCI 系统限制内提高用户性能和满意度的环境干预措施;(3)用户接受度的测量和评估方法。我们发现,尽管研究人员并不经常明确这种联系,但 HFE 是 P300 脑机接口系统性能的核心。纳入用户接受度的测量和严格的可用性评估,增加残疾用户作为测试参与者的参与度,以及在测试中增加现实性,将有助于推动 P300 脑机接口系统在辅助应用中的发展。

https://cdn.ncbi.nlm.nih.gov/pmc/blobs/f719/4588142/7ff2cd5d6ad5/brainsci-05-00318-g001.jpg

相似文献

1
The Human Factors and Ergonomics of P300-Based Brain-Computer Interfaces.
Brain Sci. 2015 Aug 10;5(3):318-56. doi: 10.3390/brainsci5030318.
2
Brain-computer interfaces for communication and control.
Clin Neurophysiol. 2002 Jun;113(6):767-91. doi: 10.1016/s1388-2457(02)00057-3.
3
Concentration on performance with P300-based BCI systems: a matter of interface features.
Appl Ergon. 2016 Jan;52:325-32. doi: 10.1016/j.apergo.2015.08.002. Epub 2015 Aug 28.
6
Human visual skills for brain-computer interface use: a tutorial.
Disabil Rehabil Assist Technol. 2020 Oct;15(7):799-809. doi: 10.1080/17483107.2020.1754929. Epub 2020 Jun 1.
7
Out of the frying pan into the fire--the P300-based BCI faces real-world challenges.
Prog Brain Res. 2011;194:27-46. doi: 10.1016/B978-0-444-53815-4.00019-4.
8
Combining Brain-Computer Interfaces and Assistive Technologies: State-of-the-Art and Challenges.
Front Neurosci. 2010 Sep 7;4. doi: 10.3389/fnins.2010.00161. eCollection 2010.
10
Brain Painting: usability testing according to the user-centered design in end users with severe motor paralysis.
Artif Intell Med. 2013 Oct;59(2):99-110. doi: 10.1016/j.artmed.2013.08.003. Epub 2013 Sep 13.

引用本文的文献

2
Real-Time Mobile Robot Obstacles Detection and Avoidance Through EEG Signals.
Brain Sci. 2025 Mar 30;15(4):359. doi: 10.3390/brainsci15040359.
3
[An emerging major: brain-computer interface major].
Sheng Wu Yi Xue Gong Cheng Xue Za Zhi. 2024 Dec 25;41(6):1257-1264. doi: 10.7507/1001-5515.202409050.
4
Filter bank temporally delayed CCA for uncalibrated SSVEP-BCI.
Med Biol Eng Comput. 2025 Feb;63(2):355-363. doi: 10.1007/s11517-024-03193-x. Epub 2024 Sep 24.
5
Time-frequency feature extraction based on multivariable synchronization index for training-free SSVEP-based BCI.
Cogn Neurodyn. 2024 Aug;18(4):1733-1741. doi: 10.1007/s11571-023-10035-3. Epub 2023 Dec 11.
7
Multi-information improves the performance of CCA-based SSVEP classification.
Cogn Neurodyn. 2024 Feb;18(1):165-172. doi: 10.1007/s11571-022-09923-x. Epub 2023 Jan 9.
8
State-of-the-Art on Brain-Computer Interface Technology.
Sensors (Basel). 2023 Jun 28;23(13):6001. doi: 10.3390/s23136001.
10
Direct Communication Between Brains: A Systematic PRISMA Review of Brain-To-Brain Interface.
Front Neurorobot. 2021 May 7;15:656943. doi: 10.3389/fnbot.2021.656943. eCollection 2021.

本文引用的文献

1
Affect and Cognition.
Perspect Psychol Sci. 2008 Mar;3(2):94-101. doi: 10.1111/j.1745-6916.2008.00067.x.
3
What would brain-computer interface users want: opinions and priorities of potential users with spinal cord injury.
Arch Phys Med Rehabil. 2015 Mar;96(3 Suppl):S38-45.e1-5. doi: 10.1016/j.apmr.2014.05.028.
4
A novel EOG/EEG hybrid human-machine interface adopting eye movements and ERPs: application to robot control.
IEEE Trans Biomed Eng. 2015 Mar;62(3):876-89. doi: 10.1109/TBME.2014.2369483. Epub 2014 Nov 12.
5
Novel hold-release functionality in a P300 brain-computer interface.
J Neural Eng. 2014 Dec;11(6):066010. doi: 10.1088/1741-2560/11/6/066010. Epub 2014 Nov 7.
6
Noninvasive brain-computer interface enables communication after brainstem stroke.
Sci Transl Med. 2014 Oct 8;6(257):257re7. doi: 10.1126/scitranslmed.3007801.
7
A P300-based brain-computer interface aimed at operating electronic devices at home for severely disabled people.
Med Biol Eng Comput. 2014 Oct;52(10):861-72. doi: 10.1007/s11517-014-1191-5. Epub 2014 Aug 28.
8
Neurorehabilitation of social dysfunctions: a model-based neurofeedback approach for low and high-functioning autism.
Front Neuroeng. 2014 Aug 7;7:29. doi: 10.3389/fneng.2014.00029. eCollection 2014.

文献AI研究员

20分钟写一篇综述,助力文献阅读效率提升50倍。

立即体验

用中文搜PubMed

大模型驱动的PubMed中文搜索引擎

马上搜索

文档翻译

学术文献翻译模型,支持多种主流文档格式。

立即体验