Suppr超能文献

动脉迂曲综合征患者成纤维细胞中核抗坏血酸积累减少伴随基因组甲基化模式改变。

Decreased Nuclear Ascorbate Accumulation Accompanied with Altered Genomic Methylation Pattern in Fibroblasts from Arterial Tortuosity Syndrome Patients.

机构信息

Department of Medical Chemistry, Molecular Biology, and Pathobiochemistry, Semmelweis University, Budapest 1094, Hungary.

Department of Anatomy, Cell and Developmental Biology, Eötvös Loránd University, Budapest 1117, Hungary.

出版信息

Oxid Med Cell Longev. 2019 Jan 13;2019:8156592. doi: 10.1155/2019/8156592. eCollection 2019.

Abstract

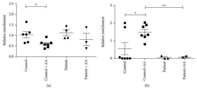
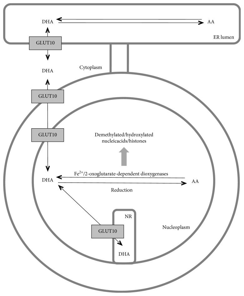
Ascorbate requiring Fe/2-oxoglutarate-dependent dioxygenases located in the nucleoplasm have been shown to participate in epigenetic regulation of gene expression via histone and DNA demethylation. Transport of dehydroascorbic acid is impaired in the endomembranes of fibroblasts from arterial tortuosity syndrome (ATS) patients, due to the mutation in the gene coding for glucose transporter GLUT10. We hypothesized that altered nuclear ascorbate concentration might be present in ATS fibroblasts, affecting dioxygenase activity and DNA demethylation. Therefore, our aim was to characterize the subcellular distribution of vitamin C, the global and site-specific changes in 5-methylcytosine and 5-hydroxymethylcytosine levels, and the effect of ascorbate supplementation in control and ATS fibroblast cultures. Diminished nuclear accumulation of ascorbate was found in ATS fibroblasts upon ascorbate or dehydroascorbic acid addition. Analyzing DNA samples of cultured fibroblasts from controls and ATS patients, a lower global 5-hydroxymethylcytosine level was found in ATS fibroblasts, which could not be significantly modified by ascorbate addition. Investigation of the (hydroxy)methylation status of specific regions in six candidate genes related to ascorbate metabolism and function showed that ascorbate addition could stimulate hydroxymethylation and active DNA demethylation at the PPAR- gene region in control fibroblasts only. The altered DNA hydroxymethylation patterns in patient cells both at the global level and at specific gene regions accompanied with decreased nuclear accumulation of ascorbate suggests the epigenetic role of vitamin C in the pathomechanism of ATS. The present findings represent the first example for the role of vitamin C transport in epigenetic regulation suggesting that ATS is a compartmentalization disease.

摘要

已证实,位于核质中的依赖 Fe/2-氧代戊二酸的抗坏血酸需要的加氧酶通过组蛋白和 DNA 去甲基化参与基因表达的表观遗传调控。由于编码葡萄糖转运蛋白 GLUT10 的基因突变,动脉扭曲综合征(ATS)患者成纤维细胞的内体膜中抗坏血酸脱氢酸的转运受损。我们假设 ATS 成纤维细胞中可能存在核抗坏血酸浓度的改变,从而影响加氧酶活性和 DNA 去甲基化。因此,我们的目的是研究维生素 C 的亚细胞分布、5-甲基胞嘧啶和 5-羟甲基胞嘧啶水平的整体和特异性变化,以及补充抗坏血酸对对照和 ATS 成纤维细胞培养物的影响。在添加抗坏血酸或脱氢抗坏血酸后,我们发现 ATS 成纤维细胞中的核内抗坏血酸积累减少。分析对照和 ATS 患者培养的成纤维细胞的 DNA 样本,发现 ATS 成纤维细胞中的总体 5-羟甲基胞嘧啶水平较低,添加抗坏血酸不能显著改变这一水平。对与抗坏血酸代谢和功能相关的六个候选基因的(羟)甲基化状态进行调查,发现仅在对照成纤维细胞中,添加抗坏血酸可以刺激 PPAR-基因区域的羟甲基化和活性 DNA 去甲基化。在患者细胞中,整体和特定基因区域的 DNA 羟甲基化模式改变,同时核内抗坏血酸积累减少,提示维生素 C 在 ATS 发病机制中的表观遗传作用。这些发现代表了维生素 C 转运在表观遗传调控中的作用的第一个例子,表明 ATS 是一种隔室化疾病。

https://cdn.ncbi.nlm.nih.gov/pmc/blobs/6994/6360052/26268c7b2841/OMCL2019-8156592.001.jpg

文献检索

告别复杂PubMed语法,用中文像聊天一样搜索,搜遍4000万医学文献。AI智能推荐,让科研检索更轻松。

立即免费搜索

文件翻译

保留排版,准确专业,支持PDF/Word/PPT等文件格式,支持 12+语言互译。

免费翻译文档

深度研究

AI帮你快速写综述,25分钟生成高质量综述,智能提取关键信息,辅助科研写作。

立即免费体验