Suppr超能文献

人字骨的存在增加了马颅骨的抗骨折能力。

The presence of Wormian bones increases the fracture resistance of equine cranial bone.

机构信息

School of Mechanical and Materials Engineering, University College Dublin, Dublin, Ireland.

School of Veterinary Medicine, University College Dublin, Dublin, Ireland.

出版信息

PLoS One. 2021 Apr 16;16(4):e0249451. doi: 10.1371/journal.pone.0249451. eCollection 2021.

Abstract

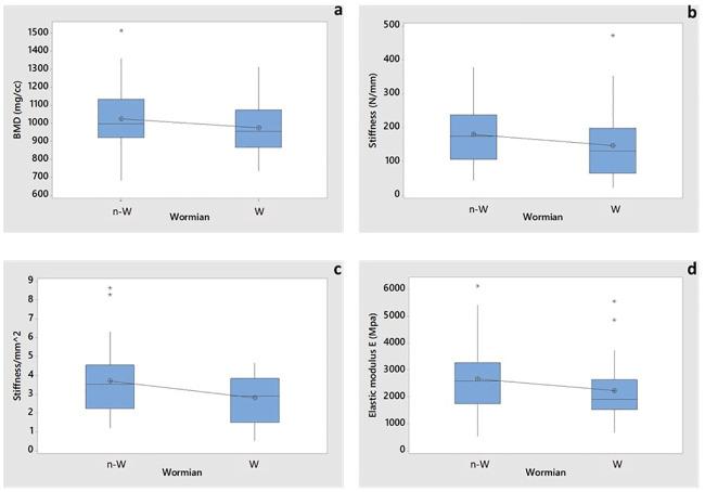
Wormian (intrasutural) bones are small, irregular bones, that are found in the cranial sutures of the skull. The occurrence of Wormian bones in human skulls has been well documented but few studies have detected the presence of such bones in domestic animals. Although some research has linked the presence of Wormian bones to bone pathology, its anatomical significance in healthy individuals is not known. To the best of our knowledge, no previous study has examined the biomechanical features of Wormian bone. This study uses microCT imaging of the parietal bone region to determine the frequency of occurrence of Wormian bones in horse skulls and, through 3-point bending tests, to calculate the mechanical differences that result from the presence of such bones. In addition, bone properties such as bone mineral density (BMD) and stiffness were measured and analysed to determine the influence of Wormian bone. Our findings on 54 specimens taken from 10 horses (ages ranging from 4 to 29 years) showed that Wormian bone was present in 70% of subjects and that its occurrence was unrelated to age or sex. 3-point bend tests revealed that the stiffness normalised by cross section area (P = 0.038) was lower in samples where Wormian bone was present. An idealised Finite Element simulation confirmed that the presence of Wormian bone reduced the maximum stress and strain, as well as their distribution throughout the sample. We consequently conclude that the presence of Wormian bones, which are confined to the calvaria, increase the compliance of the bone and reduce the likelihood of skull fracture. As all skull samples were collected from a local abattoir, ethical approval was not required for this work.

摘要

颅缝骨(缝间骨)是一种小型不规则骨,存在于颅骨的骨缝中。人类颅骨中颅缝骨的存在已得到充分证实,但很少有研究检测到家养动物颅骨中有这种骨的存在。尽管一些研究将颅缝骨的存在与骨病理学联系起来,但在健康个体中,其解剖学意义尚不清楚。据我们所知,以前没有研究检查过颅缝骨的生物力学特征。本研究使用颅骨顶骨区域的 microCT 成像来确定马颅骨中颅缝骨的发生频率,并通过三点弯曲试验来计算由于存在这种骨而导致的机械差异。此外,还测量和分析了骨密度(BMD)和刚度等骨特性,以确定颅缝骨的影响。我们对 10 匹马(年龄 4 至 29 岁)的 54 个样本进行了研究,发现 70%的样本存在颅缝骨,其发生与年龄或性别无关。三点弯曲试验表明,在存在颅缝骨的样本中,通过截面积归一化的刚度(P = 0.038)较低。理想的有限元模拟证实,颅缝骨的存在降低了最大应力和应变,以及它们在整个样本中的分布。因此,我们得出结论,存在于颅骨中的颅缝骨增加了骨的顺应性,并降低了颅骨骨折的可能性。由于所有颅骨样本均取自当地屠宰场,因此本研究无需伦理批准。

https://cdn.ncbi.nlm.nih.gov/pmc/blobs/4067/8051753/c7e6e8b1ea33/pone.0249451.g001.jpg

文献AI研究员

20分钟写一篇综述,助力文献阅读效率提升50倍。

立即体验

用中文搜PubMed

大模型驱动的PubMed中文搜索引擎

马上搜索

文档翻译

学术文献翻译模型,支持多种主流文档格式。

立即体验