Suppr超能文献

钢筋混凝土梁中近表面安装条带的粘结性能——试验研究与数值模拟

Bond Behaviour of Near-Surface Mounted Strips in RC Beams-Experimental Investigation and Numerical Simulations.

作者信息

Kotynia Renata, Baky Hussien Abdel, Neale Kenneth W

机构信息

Department of Concrete Structures, Lodz University of Technology, Al. Politechniki 6, 90-924 Lodz, Poland.

The Shockey Precast Group, Winchester, VA 22603, USA.

出版信息

Materials (Basel). 2021 Aug 4;14(16):4362. doi: 10.3390/ma14164362.

Abstract

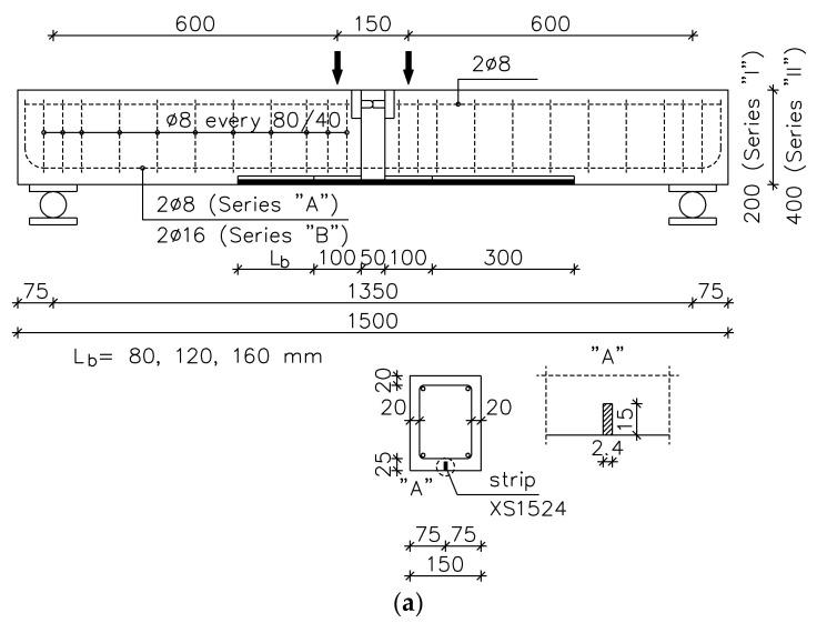
This paper presents an investigation of the bond mechanism between carbon fibre reinforced polymer (CFRP) laminates, concrete and steel in the near-surface mounted (NSM) CFRP-strengthened reinforced concrete (RC) beam-bond tests. The experimental program consisting of thirty modified concrete beams flexurally strengthened with NSM CFRP strips was published in. The effects of five parameters and their interactions on the ultimate load carrying capacities and the associated bond mechanisms of the beams are investigated in this paper with consideration of the following investigated parameters: beam span, beam depth, longitudinal tensile steel reinforcement ratio, the bond length of the CFRP strips and compressive concrete strength. The longitudinal steel reinforcement was cut at the beam mid-span in four beams to investigate a better assessment of the influence of the steel reinforcement ratio on the bond behaviour of CFRP to concrete bond behaviour. The numerical analysis implemented in this paper is based on a nonlinear micromechanical finite element model (FEM) that was used for investigation of the flexural behaviour of NSM CFRP-strengthened members. The 3D model based on advanced CFRP to concrete bond responses was introduced to modelling of tested specimens. The FEM procedure presents the orthotropic behaviour of the CFRP strips and the bond response between the CFRP and concrete. Comparison of the experimental and numerical results revealed an excellent agreement that confirms the suitability of the proposed FE model.

摘要

本文介绍了在近表面粘贴(NSM)碳纤维增强聚合物(CFRP)加固钢筋混凝土(RC)梁粘结试验中,对CFRP层压板、混凝土和钢材之间粘结机理的研究。由30根用NSM CFRP条带进行抗弯加固的改进混凝土梁组成的试验方案已发表。本文研究了五个参数及其相互作用对梁的极限承载能力和相关粘结机理的影响,考虑了以下研究参数:梁跨度、梁深度、纵向受拉钢筋比率、CFRP条带的粘结长度和混凝土抗压强度。在四根梁的梁跨中切断纵向钢筋,以更好地评估钢筋比率对CFRP与混凝土粘结性能粘结行为的影响。本文进行的数值分析基于一个非线性微观力学有限元模型(FEM),该模型用于研究NSM CFRP加固构件的抗弯性能。基于CFRP与混凝土之间先进粘结响应的三维模型被引入到试验试件的建模中。有限元程序呈现了CFRP条带的正交各向异性性能以及CFRP与混凝土之间的粘结响应。试验结果与数值结果的比较显示出极好的一致性,证实了所提出有限元模型的适用性。

https://cdn.ncbi.nlm.nih.gov/pmc/blobs/1588/8399217/412b9f5dd6a4/materials-14-04362-g001a.jpg

文献AI研究员

20分钟写一篇综述,助力文献阅读效率提升50倍。

立即体验

用中文搜PubMed

大模型驱动的PubMed中文搜索引擎

马上搜索

文档翻译

学术文献翻译模型,支持多种主流文档格式。

立即体验