Suppr超能文献

梅毒密螺旋体亚种 感染性梅毒男性不同身体部位的患者内同质性

Treponema pallidum Subspecies Intrapatient Homogeneity at Various Body Locations in Men with Infectious Syphilis.

机构信息

Department of Infectious Diseases, Public Health Service Amsterdam, Amsterdam, the Netherlands.

Department of Medical Microbiology, Amsterdam UMC, University of Amsterdam, Amsterdam, the Netherlands.

出版信息

Microbiol Spectr. 2022 Aug 31;10(4):e0248221. doi: 10.1128/spectrum.02482-21. Epub 2022 Jun 23.

Abstract

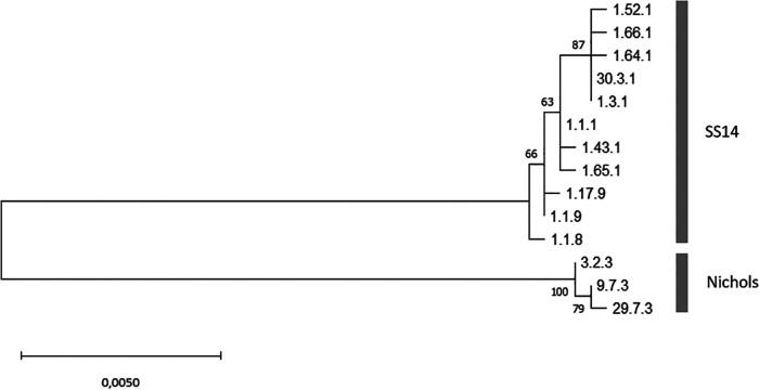
Syphilis, caused by Treponema pallidum subspecies (TP), is a complex multistage infectious disease. Systematic dissemination occurs within a few hours of transmission. We determined the molecular variation of TP at various body locations and peripheral blood within patients in different stages of syphilis to assess the distribution of TP strains at these locations. We included 162 men who have sex with men (MSM) with syphilis visiting the Sexual Health Center in Amsterdam between 2018 to 2019, who had TP DNA detected in at least one sample type (anal swab, urine sample, peripheral blood, pharyngeal swab, and/or ulcer swab). TP DNA was detected in 287 samples using a qPCR targeting the gene. With multilocus sequence typing (TP-MLST) based on partial sequence analysis of three genetic regions (), we characterized all TP DNA positive samples. Samples could be typed (119/287) from at least one anatomical location or peripheral blood from 93/162 (57%) patients in the following stages: 48 (52%) primary, 35 (38%) secondary, and 10 (11%) early latent stage syphilis. The TP-MLST type was identical within each of the 12 patients with typed samples at ≥2 different body locations. The most prevalent TP strains were 1.3.1 (39/93, 42%) and 1.1.1 (17/93, 18%) belonging to the SS14 lineage; 80% (74/93) of the patients carried a SS14 lineage TP strain and 20% (19/93) Nichols lineage. The distribution of TP-MLST types did not differ between patients by syphilis stage. We found intrapatient TP strain homogeneity and no TP strain variation between anatomical location or syphilis stages. More early latent samples should be typed and added in future studies to investigate this in more detail. Syphilis, caused by Treponema pallidum subspecies , is a complex multistage infectious disease. Systematic dissemination is known to occur within a few hours of transmission. Despite the effective antibiotic penicillin, syphilis remains prevalent worldwide. Men who have sex with men are disproportionally affected in high income countries like the Netherlands where 96% of the syphilis cases in 2020 were among this population. The inability to culture T. pallidum directly from patient samples limits whole-genome sequencing efforts. Fortunately, in 2018 a multilocus sequence typing technique was developed for T. pallidum allowing the monitoring of circulating strains. The significance of our research is in the investigation of T. pallidum molecular variation at various body locations and blood within patients in different stages of syphilis in order to assess the distribution of strains at these locations.

摘要

梅毒,由苍白密螺旋体亚种(TP)引起,是一种复杂的多阶段传染病。系统性传播在传播后的几个小时内就会发生。我们确定了不同阶段梅毒患者在不同身体部位和外周血中的 TP 分子变异,以评估这些部位 TP 菌株的分布情况。我们纳入了 2018 年至 2019 年间在阿姆斯特丹性健康中心就诊的 162 名男男性行为者(MSM),这些患者至少有一种样本类型(肛门拭子、尿液样本、外周血、咽拭子和/或溃疡拭子)检测到 TP DNA。使用针对基因的 qPCR 检测了 287 个样本中的 TP DNA。通过基于三个遗传区域()的部分序列分析的多位点序列分型(TP-MLST),我们对所有 TP DNA 阳性样本进行了特征描述。从 93/162(57%)名患者的至少一个解剖部位或外周血中对来自 119/287(52%)名患者的样本进行了分型(48%为原发性梅毒,35%为二期梅毒,11%为早期潜伏梅毒)。在 12 名至少在两个不同身体部位有分型样本的患者中,TP-MLST 型是相同的。最常见的 TP 菌株是属于 SS14 谱系的 1.3.1(39/93,42%)和 1.1.1(17/93,18%);80%(74/93)的患者携带 SS14 谱系 TP 菌株,20%(19/93)携带 Nichols 谱系。TP-MLST 型在不同梅毒阶段的患者之间没有差异。我们发现患者内 TP 菌株同源性,且不同解剖部位或梅毒阶段之间不存在 TP 菌株变异。未来的研究应增加更多的早期潜伏样本并进行分型,以更详细地研究这一点。梅毒,由苍白密螺旋体亚种引起,是一种复杂的多阶段传染病。传播后几个小时内就会发生系统性传播。尽管有有效的抗生素青霉素,但梅毒仍然在全球范围内流行。在高收入国家,如荷兰,男男性行为者不成比例地受到影响,2020 年 96%的梅毒病例发生在这一人群中。由于无法直接从患者样本中培养苍白密螺旋体,限制了全基因组测序的工作。幸运的是,2018 年开发了一种用于苍白密螺旋体的多位点序列分型技术,允许监测循环菌株。我们研究的意义在于调查不同阶段梅毒患者在不同身体部位和血液中的苍白密螺旋体分子变异,以评估这些部位的菌株分布情况。

https://cdn.ncbi.nlm.nih.gov/pmc/blobs/970b/9430645/1fb6f6a8b24f/spectrum.02482-21-f001.jpg

文献AI研究员

20分钟写一篇综述,助力文献阅读效率提升50倍。

立即体验

用中文搜PubMed

大模型驱动的PubMed中文搜索引擎

马上搜索

文档翻译

学术文献翻译模型,支持多种主流文档格式。

立即体验