Suppr超能文献

掘进工作面双附壁环隙气流除尘技术研究

Research on the dust-control technology of a double-wall attached-ring air curtain on an excavation face.

机构信息

College of Safety Science and Engineering, Liaoning Technical University, Fuxing, Liaoning, China.

Key Laboratory of Mine Thermal Power Disaster and Prevention, Ministry of Education, Liaoning Technical University, Fuxing, Liaoning, China.

出版信息

PLoS One. 2024 Mar 7;19(3):e0295045. doi: 10.1371/journal.pone.0295045. eCollection 2024.

Abstract

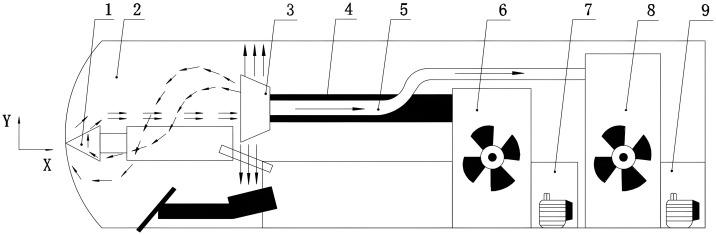
On the basis of the jet theory of airflow fields and the gas-solid two-phase flow theory, we studied the law of dust migration in a simulated dusting space. We used the control variable method and numerical simulation software to explore the airflow field and dust concentration distribution on the working surface of the dusting under different inlet wind speeds and different attached blades of the double-walled annular air curtain. We determined the speed of the inlet of the annular air curtain to be 30 m/s. When the angle of the attached blade was 30°, the dust concentration of the driver and other workers was controlled below 100 mg/m3, which produced the best dust control effect is the best. Using real data, we built a similar test platform to test the airflow field and dust concentration. Through data measurement and analysis, we proved that a dust control system with a double-wall attached-ring air curtain formed a circulating airflow field that could shield dust and effectively reduce dust concentration in the simulated space. The dust removal efficiency of total dust and exhaled dust reached 98.5% and 97.5%, respectively. We compared the test data and simulation results and concluded that the double-wall attached-ring air curtain could effectively ensure the safety of mine production and provide a better underground working environment for operators.

摘要

基于气流场射流理论和气固两相流理论,我们研究了模拟扬尘空间中粉尘迁移的规律。我们采用控制变量法和数值模拟软件,探讨了不同进风速度和双壁附环气幕不同附叶条件下扬尘工作面的气流场和粉尘浓度分布。我们将环形气幕的进口速度确定为 30 m/s。当附叶角度为 30°时,司机和其他工人的粉尘浓度可控制在 100 mg/m3 以下,此时产生的控尘效果最佳。利用真实数据,我们构建了类似的测试平台来测试气流场和粉尘浓度。通过数据测量和分析,我们证明了具有双壁附环的除尘系统形成了循环气流场,可以屏蔽粉尘,有效降低模拟空间中的粉尘浓度。总粉尘和呼吸性粉尘的除尘效率分别达到 98.5%和 97.5%。我们比较了测试数据和模拟结果,得出双壁附环气幕能够有效保证矿山生产的安全,并为操作人员提供更好的地下工作环境。

https://cdn.ncbi.nlm.nih.gov/pmc/blobs/e806/10919721/fc847c6ca4ff/pone.0295045.g001.jpg

文献检索

告别复杂PubMed语法,用中文像聊天一样搜索,搜遍4000万医学文献。AI智能推荐,让科研检索更轻松。

立即免费搜索

文件翻译

保留排版,准确专业,支持PDF/Word/PPT等文件格式,支持 12+语言互译。

免费翻译文档

深度研究

AI帮你快速写综述,25分钟生成高质量综述,智能提取关键信息,辅助科研写作。

立即免费体验