• 文献检索
  • 文档翻译
  • 深度研究
  • 学术资讯
  • Suppr Zotero 插件Zotero 插件
  • 邀请有礼
  • 套餐&价格
  • 历史记录
应用&插件
Suppr Zotero 插件Zotero 插件浏览器插件Mac 客户端Windows 客户端微信小程序
定价
高级版会员购买积分包购买API积分包
服务
文献检索文档翻译深度研究API 文档MCP 服务
关于我们
关于 Suppr公司介绍联系我们用户协议隐私条款
关注我们

Suppr 超能文献

核心技术专利:CN118964589B侵权必究
粤ICP备2023148730 号-1Suppr @ 2026

文献检索

告别复杂PubMed语法,用中文像聊天一样搜索,搜遍4000万医学文献。AI智能推荐,让科研检索更轻松。

立即免费搜索

文件翻译

保留排版,准确专业,支持PDF/Word/PPT等文件格式,支持 12+语言互译。

免费翻译文档

深度研究

AI帮你快速写综述,25分钟生成高质量综述,智能提取关键信息,辅助科研写作。

立即免费体验

年轻患者中镇痛药的使用与终末期肾病:一项病例对照研究。

Analgesics use and ESRD in younger age: a case-control study.

作者信息

van der Woude Fokke J, Heinemann Lothar A J, Graf Helmut, Lewis Michael, Moehner Sabine, Assmann Anita, Kühl-Habich Doerthe

机构信息

Nephrology, 5. Med. Klinik, Klinikum Heidelberg-Mannheim, Theodor-Kutzer-Ufer 1-3, 68167 Mannheim, Germany.

出版信息

BMC Nephrol. 2007 Dec 5;8:15. doi: 10.1186/1471-2369-8-15.

DOI:10.1186/1471-2369-8-15
PMID:18053232
原文链接:https://pmc.ncbi.nlm.nih.gov/articles/PMC2222021/
Abstract

BACKGROUND

An ad hoc peer-review committee was jointly appointed by Drug Authorities and Industry in Germany, Austria and Switzerland in 1999/2000 to review the evidence for a causal relation between phenacetin-free analgesics and nephropathy. The committee found the evidence as inconclusive and requested a new case-control study of adequate design.

METHODS

We performed a population-based case-control study with incident cases of end-stage renal disease (ESRD) under the age of 50 years and four age and sex-matched neighborhood controls in 170 dialysis centers (153 in Germany, and 17 in Austria) from January 1, 2001 to December 31, 2004. Data on lifetime medical history, risk factors, treatment, job exposure and intake of analgesics were obtained in a standardized face-to-face interview using memory aids to enhance accuracy. Study design, study performance, analysis plan, and study report were approved by an independent international advisory committee and by the Drug Authorities involved. Unconditional logistic regression analyses were performed.

RESULTS

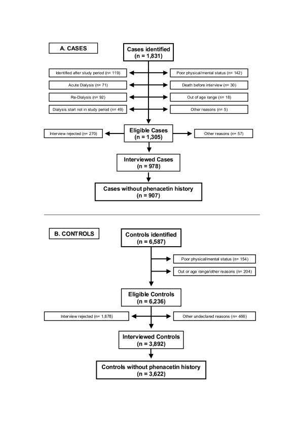
The analysis included 907 cases and 3,622 controls who had never used phenacetin-containing analgesics in their lifetime. The use of high cumulative lifetime dose (3rd tertile) of analgesics in the period up to five years before dialysis was not associated with later ESRD. Adjusted odds ratios with 95% confidence intervals were 0.8 (0.7 - 1.0) and 1.0 (0.8 - 1.3) for ever- compared with no or low use and high use compared with low use, respectively. The same results were found for all analgesics and for mono-, and combination preparations with and without caffeine. No increased risk was shown in analyses stratifying for dose and duration. Dose-response analyses showed that analgesic use was not associated with an increased risk for ESRD up to 3.5 kg cumulative lifetime dose (98 % of the cases with ESRD). While the large subgroup of users with a lifetime dose up to 0.5 kg (278 cases and 1365 controls) showed a significantly decreased risk, a tiny subgroup of extreme users with over 3.5 kg lifetime use (19 cases and 11 controls) showed a significant risk increase. The detailed evaluation of 22 cases and 19 controls with over 2.5 kg lifetime use recommended by the regulatory advisors showed an impressive excess of other conditions than analgesics triggering the evolution of ESRD in cases compared with controls.

CONCLUSION

We found no clinically meaningful evidence for an increased risk of ESRD associated with use of phenacetin-free analgesics in single or combined formulation. The apparent risk increase shown in a small subgroup with extreme lifetime dose of analgesics is most likely an indirect, non-causal association. This hypothesis, however, cannot be confirmed or refuted within our case-control study. Overall, our results lend support to the mounting evidence that phenacetin-free analgesics do not induce ESRD and that the notion of "analgesic nephropathy" needs to be re-evaluated.

https://cdn.ncbi.nlm.nih.gov/pmc/blobs/9f8d/2222021/2372129647ed/1471-2369-8-15-1.jpg
https://cdn.ncbi.nlm.nih.gov/pmc/blobs/9f8d/2222021/2372129647ed/1471-2369-8-15-1.jpg
https://cdn.ncbi.nlm.nih.gov/pmc/blobs/9f8d/2222021/2372129647ed/1471-2369-8-15-1.jpg
摘要

背景

1999/2000年,德国、奥地利和瑞士的药品监管机构与制药行业联合任命了一个特设同行评审委员会,以审查不含非那西丁的镇痛药与肾病之间因果关系的证据。该委员会认为证据不确凿,并要求开展一项设计合理的新病例对照研究。

方法

我们在170个透析中心(德国153个,奥地利17个)开展了一项基于人群的病例对照研究,研究对象为50岁以下终末期肾病(ESRD)的新发病例以及4名年龄和性别匹配的社区对照,研究时间为2001年1月1日至2004年12月31日。通过标准化的面对面访谈获取终生病史、危险因素、治疗情况、职业暴露和镇痛药摄入的数据,并使用记忆辅助工具以提高准确性。研究设计、研究实施、分析计划和研究报告均获得独立国际咨询委员会和相关药品监管机构的批准。进行了无条件逻辑回归分析。

结果

分析纳入了907例病例和3622名对照,他们终生从未使用过含非那西丁的镇痛药。透析前五年内使用高累积终生剂量(第三三分位数)的镇痛药与后期ESRD无关。与未使用或低剂量使用相比,曾经使用过镇痛药与未使用或低剂量使用的调整优势比及95%置信区间分别为0.8(0.7 - 1.0),与低剂量使用相比,高剂量使用的调整优势比及95%置信区间为1.0(0.8 - 1.3)。所有镇痛药以及含或不含咖啡因的单一制剂和复方制剂的结果均相同。按剂量和持续时间分层分析未显示风险增加。剂量反应分析表明,累积终生剂量达3.5千克(98%的ESRD病例)时,镇痛药使用与ESRD风险增加无关。虽然终生剂量达0.5千克的大量使用者亚组(278例病例和1365名对照)显示风险显著降低,但终生使用量超过3.5千克的极小极端使用者亚组(19例病例和11名对照)显示风险显著增加。监管顾问推荐的对终生使用量超过2.5千克的22例病例和19名对照进行的详细评估显示,与对照相比,病例中除镇痛药外引发ESRD进展的其他情况明显过多。

结论

我们未发现临床意义上的证据表明,使用单一或复方不含非那西丁的镇痛药会增加ESRD风险。终生使用镇痛药剂量极高的一个小亚组中显示的明显风险增加很可能是一种间接的非因果关联。然而,在我们的病例对照研究中无法证实或反驳这一假设。总体而言,我们的结果支持越来越多的证据表明,不含非那西丁的镇痛药不会诱发ESRD,“镇痛药性肾病”的概念需要重新评估。

相似文献

1
Analgesics use and ESRD in younger age: a case-control study.年轻患者中镇痛药的使用与终末期肾病:一项病例对照研究。
BMC Nephrol. 2007 Dec 5;8:15. doi: 10.1186/1471-2369-8-15.
2
Case-control study on analgesics and nephropathy (SAN): protocol.镇痛药与肾病的病例对照研究(SAN):研究方案
BMC Nephrol. 2005 Aug 8;6:9. doi: 10.1186/1471-2369-6-9.
3
Non-phenacetin analgesics and analgesic nephropathy: clinical assessment of high users from a case-control study.
Nephrol Dial Transplant. 2009 Apr;24(4):1253-9. doi: 10.1093/ndt/gfn643. Epub 2008 Nov 26.
4
Relationship between nonphenacetin combined analgesics and nephropathy: a review. Ad Hoc Committee of the International Study Group on Analgesics and Nephropathy.非非那西丁复合镇痛药与肾病的关系:综述。镇痛药与肾病国际研究组特设委员会
Kidney Int. 2000 Dec;58(6):2259-64. doi: 10.1046/j.1523-1755.2000.00410.x.
5
Habitual use of acetaminophen as a risk factor for chronic renal failure: a comparison with phenacetin.
Am J Kidney Dis. 1996 Jul;28(1 Suppl 1):S7-13. doi: 10.1016/s0272-6386(96)90562-4.
6
End-stage renal disease and non-narcotic analgesics: a case-control study.终末期肾病与非麻醉性镇痛药:一项病例对照研究。
Br J Clin Pharmacol. 1990 Nov;30(5):717-23. doi: 10.1111/j.1365-2125.1990.tb03841.x.
7
Case-control study of regular analgesic and nonsteroidal anti-inflammatory use and end-stage renal disease.常规镇痛药和非甾体抗炎药使用与终末期肾病的病例对照研究
Kidney Int. 2005 Jun;67(6):2393-8. doi: 10.1111/j.1523-1755.2005.00346.x.
8
Regular analgesic intake and the risk of end-stage renal failure.常规镇痛药的摄入与终末期肾衰竭风险
Am J Nephrol. 1989;9(5):403-12. doi: 10.1159/000168002.
9
Use of analgesics and risk of renal cell cancer.镇痛药的使用与肾细胞癌风险
Int J Cancer. 1994 Nov 15;59(4):467-70. doi: 10.1002/ijc.2910590406.
10
Do caffeine-containing analgesics promote dependence? A review and evaluation.含咖啡因的镇痛药会导致药物依赖吗?一项综述与评估。
Clin Pharmacol Ther. 2000 Nov;68(5):457-67. doi: 10.1067/mcp.2000.110974.

引用本文的文献

1
Common Analgesic Agents and Their Roles in Analgesic Nephropathy: A Commentary on the Evidence.常见镇痛药物及其在镇痛性肾病中的作用:证据评论
Korean J Fam Med. 2016 Nov;37(6):310-316. doi: 10.4082/kjfm.2016.37.6.310. Epub 2016 Nov 18.
2
Validation of potential candidate biomarkers of drug-induced nephrotoxicity and allodynia in medication-overuse headache.药物性肾毒性和药物过量使用性头痛中异常性疼痛潜在候选生物标志物的验证
J Headache Pain. 2015;16:559. doi: 10.1186/s10194-015-0559-8. Epub 2015 Aug 15.
3
Non-steroidal anti-inflammatory drug use in chronic pain conditions with special emphasis on the elderly and patients with relevant comorbidities: management and mitigation of risks and adverse effects.

本文引用的文献

1
In memoriam 'analgesic nephropathy' (circa 1972-2006).纪念“镇痛剂肾病”(约1972年 - 2006年)
Nephrol Dial Transplant. 2007 Apr;22(4):999-1001. doi: 10.1093/ndt/gfl797. Epub 2007 Jan 8.
2
Obituary to analgesic nephropathy--an autopsy study.镇痛剂肾病的讣告——一项尸检研究
Nephrol Dial Transplant. 2006 Nov;21(11):3139-45. doi: 10.1093/ndt/gfl390. Epub 2006 Aug 5.
3
Non-contrast-enhanced computerized tomography and analgesic-related kidney disease: report of the national analgesic nephropathy study.非增强计算机断层扫描与镇痛相关肾病:国家镇痛性肾病研究报告
非甾体抗炎药在慢性疼痛疾病中的应用,特别关注老年人和伴有相关合并症的患者:风险和不良反应的管理和缓解。
Eur J Clin Pharmacol. 2014 Oct;70(10):1159-72. doi: 10.1007/s00228-014-1734-6. Epub 2014 Aug 28.
4
Combined analgesics in (headache) pain therapy: shotgun approach or precise multi-target therapeutics?联合镇痛药在(头痛)疼痛治疗中的应用:霰弹枪方法还是精确的多靶点治疗?
BMC Neurol. 2011 Mar 31;11:43. doi: 10.1186/1471-2377-11-43.
5
ISFM and AAFP consensus guidelines: long-term use of NSAIDs in cats.国际猫科医学协会(ISFM)和美国家庭医师学会(AAFP)共识指南:猫长期使用非甾体抗炎药
J Feline Med Surg. 2010 Jul;12(7):521-38. doi: 10.1016/j.jfms.2010.05.004.
J Am Soc Nephrol. 2006 May;17(5):1472-80. doi: 10.1681/ASN.2005101096. Epub 2006 Apr 12.
4
Case-control study on analgesics and nephropathy (SAN): protocol.镇痛药与肾病的病例对照研究(SAN):研究方案
BMC Nephrol. 2005 Aug 8;6:9. doi: 10.1186/1471-2369-6-9.
5
Case-control study of regular analgesic and nonsteroidal anti-inflammatory use and end-stage renal disease.常规镇痛药和非甾体抗炎药使用与终末期肾病的病例对照研究
Kidney Int. 2005 Jun;67(6):2393-8. doi: 10.1111/j.1523-1755.2005.00346.x.
6
Lifetime nonnarcotic analgesic use and decline in renal function in women.女性非麻醉性镇痛药的终生使用与肾功能衰退
Arch Intern Med. 2004 Jul 26;164(14):1519-24. doi: 10.1001/archinte.164.14.1519.
7
[Chronic interstitial nephritis].[慢性间质性肾炎]
Helv Med Acta. 1950 Oct;17(4-5):564-7.
8
PHENACETIN AND RENAL DAMAGE AT A SWEDISH FACTORY.
Acta Med Scand. 1963;174:SUPPL405:1-26. doi: 10.1111/j.0954-6820.1963.tb12584.x.
9
[Chronic interstitial nephritis caused by the abuse of analgetics containing phenacetin (Saridon etc.)].[滥用含非那西丁(散利痛等)的镇痛药所致的慢性间质性肾炎]
Schweiz Med Wochenschr. 1955 Jul 30;85(31):746.
10
Analgesic use and change in kidney function in apparently healthy men.健康男性的镇痛药使用与肾功能变化
Am J Kidney Dis. 2003 Aug;42(2):234-44. doi: 10.1016/s0272-6386(03)00647-4.