Suppr超能文献

美国各县初始阶段的背景因素与新冠疫情爆发率

Contextual factors and the COVID-19 outbreak rate across U.S. counties in its initial phase.

作者信息

Messner Wolfgang, Payson Sarah E

机构信息

Darla Moore School of Business University of South Carolina Columbia South Carolina.

出版信息

Health Sci Rep. 2021 Feb 2;4(1):e242. doi: 10.1002/hsr2.242. eCollection 2021 Mar.

Abstract

BACKGROUND

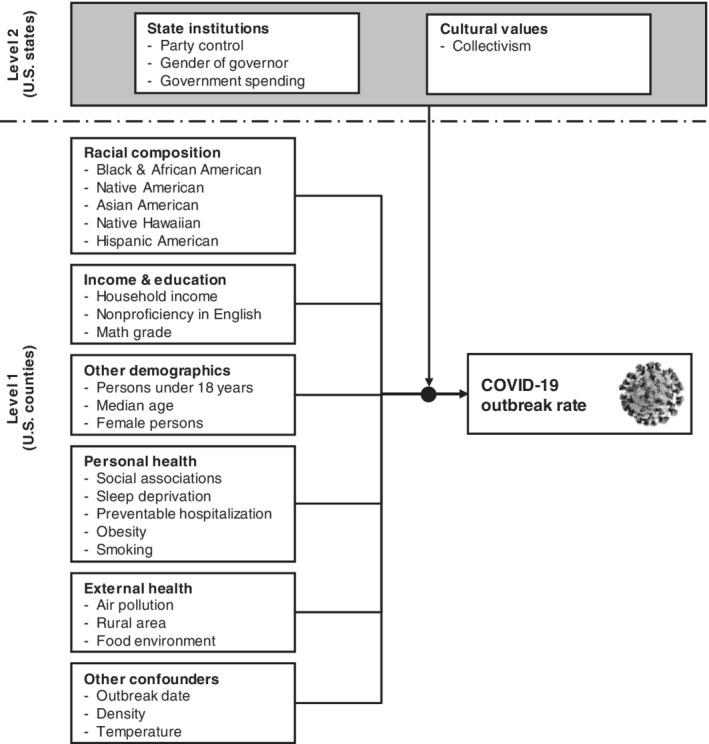
This study examines the association of contextual factors with the COVID-19 outbreak rate across U.S. counties in its initial phase.

METHODS

Contextual factors are simultaneously tested at the county- and state-level with a multilevel linear model using full maximum likelihood.

RESULTS

The variation between states is substantial and significant (ICC = 0.532, = 8.20E-04,  < .001). At the state level, the cultural value of collectivism and the contextual factor of government spending are positively associated with the outbreak rate. At the county level, the racial and ethnic composition contributes to outbreak differences, disproportionally affecting black/African, native, Asian, and Hispanic Americans as well as native Hawaiians. Counties with a higher median age and a higher household income have a stronger outbreak. Better education and personal health are generally associated with a lower outbreak. Obesity and smoking are negatively related to the outbreak, in agreement with the value expectancy concepts of the health belief model. Air pollution is another significant contributor to the outbreak.

CONCLUSIONS

Because of a high variation in contextual factors, policy makers need to target pandemic responses to the smallest subdivision possible, so that countermeasures can be implemented effectively.

摘要

背景

本研究考察了美国各县在新冠疫情初期阶段情境因素与新冠疫情爆发率之间的关联。

方法

使用全极大似然法,通过多水平线性模型在县和州层面同时对情境因素进行检验。

结果

各州之间的差异很大且具有显著性(组内相关系数ICC = 0.532,p = 8.20E - 04,p <.001)。在州层面,集体主义文化价值观和政府支出情境因素与疫情爆发率呈正相关。在县层面,种族和族裔构成导致疫情差异,对黑人/非裔、原住民、亚裔、西班牙裔美国人以及夏威夷原住民产生了不成比例的影响。年龄中位数较高且家庭收入较高的县疫情更严重。总体而言,受教育程度较高和个人健康状况较好与疫情爆发率较低相关。肥胖和吸烟与疫情呈负相关,这与健康信念模型的价值期望概念一致。空气污染是疫情爆发的另一个重要因素。

结论

由于情境因素差异很大,政策制定者需要将疫情应对措施针对尽可能小的细分区域,以便能够有效实施应对措施。

https://cdn.ncbi.nlm.nih.gov/pmc/blobs/3f90/7853692/8e16c279a09a/HSR2-4-e242-g001.jpg

文献检索

告别复杂PubMed语法,用中文像聊天一样搜索,搜遍4000万医学文献。AI智能推荐,让科研检索更轻松。

立即免费搜索

文件翻译

保留排版,准确专业,支持PDF/Word/PPT等文件格式,支持 12+语言互译。

免费翻译文档

深度研究

AI帮你快速写综述,25分钟生成高质量综述,智能提取关键信息,辅助科研写作。

立即免费体验