• 文献检索
  • 文档翻译
  • 深度研究
  • 学术资讯
  • Suppr Zotero 插件Zotero 插件
  • 邀请有礼
  • 套餐&价格
  • 历史记录
应用&插件
Suppr Zotero 插件Zotero 插件浏览器插件Mac 客户端Windows 客户端微信小程序
定价
高级版会员购买积分包购买API积分包
服务
文献检索文档翻译深度研究API 文档MCP 服务
关于我们
关于 Suppr公司介绍联系我们用户协议隐私条款
关注我们

Suppr 超能文献

核心技术专利:CN118964589B侵权必究
粤ICP备2023148730 号-1Suppr @ 2026

文献检索

告别复杂PubMed语法,用中文像聊天一样搜索,搜遍4000万医学文献。AI智能推荐,让科研检索更轻松。

立即免费搜索

文件翻译

保留排版,准确专业,支持PDF/Word/PPT等文件格式,支持 12+语言互译。

免费翻译文档

深度研究

AI帮你快速写综述,25分钟生成高质量综述,智能提取关键信息,辅助科研写作。

立即免费体验

合成气发酵中溶解 CO 和 H 的测量方法综述。

Review of Dissolved CO and H Measurement Methods for Syngas Fermentation.

机构信息

Department of Biosystems and Agricultural Engineering, Oklahoma State University, Stillwater, OK 74078, USA.

出版信息

Sensors (Basel). 2021 Mar 19;21(6):2165. doi: 10.3390/s21062165.

DOI:10.3390/s21062165
PMID:33808889
原文链接:https://pmc.ncbi.nlm.nih.gov/articles/PMC8003665/
Abstract

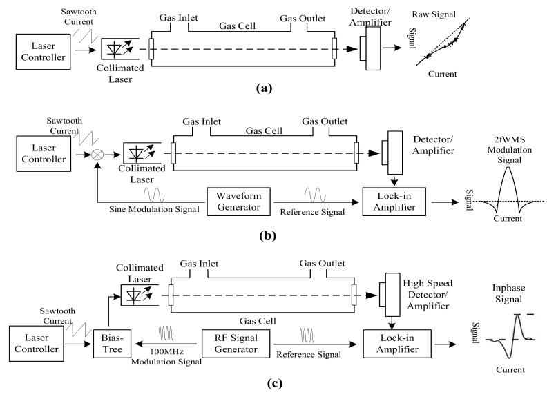
Syngas fermentation is a promising technique to produce biofuels using syngas obtained through gasified biomass and other carbonaceous materials or collected from industrial CO-rich off-gases. The primary components of syngas, carbon monoxide (CO) and hydrogen (H), are converted to alcohols and other chemicals through an anaerobic fermentation process by acetogenic bacteria. Dissolved CO and H concentrations in fermentation media are among the most important parameters for successful and stable operation. However, the difficulties in timely and precise dissolved CO and H measurements hinder the industrial-scale commercialization of this technique. The purpose of this article is to provide a comprehensive review of available dissolved CO and H measurement methods, focusing on their detection mechanisms, CO and H cross interference and operations in syngas fermentation process. This paper further discusses potential novel methods by providing a critical review of gas phase CO and H detection methods with regard to their capability to be modified for measuring dissolved CO and H in syngas fermentation conditions.

摘要

合成气发酵是一种很有前途的技术,它可以利用气化生物质和其他含碳材料产生的合成气或从工业富 CO 废气中收集的合成气来生产生物燃料。合成气的主要成分一氧化碳(CO)和氢气(H)通过产乙酸菌的厌氧发酵过程转化为醇和其他化学品。发酵介质中溶解的 CO 和 H 的浓度是成功和稳定运行的最重要参数之一。然而,及时、准确测量溶解 CO 和 H 的困难阻碍了该技术的工业化商业化。本文的目的是全面综述现有的溶解 CO 和 H 测量方法,重点介绍它们的检测机制、CO 和 H 的交叉干扰以及在合成气发酵过程中的操作。本文还通过对气相 CO 和 H 检测方法进行了批判性的评价,探讨了潜在的新型方法,以评估其在合成气发酵条件下测量溶解 CO 和 H 的能力。

https://cdn.ncbi.nlm.nih.gov/pmc/blobs/8791/8003665/436cb2bc44e0/sensors-21-02165-g004.jpg
https://cdn.ncbi.nlm.nih.gov/pmc/blobs/8791/8003665/4ea35d743371/sensors-21-02165-g001.jpg
https://cdn.ncbi.nlm.nih.gov/pmc/blobs/8791/8003665/25cc237ad9dc/sensors-21-02165-g002.jpg
https://cdn.ncbi.nlm.nih.gov/pmc/blobs/8791/8003665/dc188c6ffe07/sensors-21-02165-g003.jpg
https://cdn.ncbi.nlm.nih.gov/pmc/blobs/8791/8003665/436cb2bc44e0/sensors-21-02165-g004.jpg
https://cdn.ncbi.nlm.nih.gov/pmc/blobs/8791/8003665/4ea35d743371/sensors-21-02165-g001.jpg
https://cdn.ncbi.nlm.nih.gov/pmc/blobs/8791/8003665/25cc237ad9dc/sensors-21-02165-g002.jpg
https://cdn.ncbi.nlm.nih.gov/pmc/blobs/8791/8003665/dc188c6ffe07/sensors-21-02165-g003.jpg
https://cdn.ncbi.nlm.nih.gov/pmc/blobs/8791/8003665/436cb2bc44e0/sensors-21-02165-g004.jpg

相似文献

1
Review of Dissolved CO and H Measurement Methods for Syngas Fermentation.合成气发酵中溶解 CO 和 H 的测量方法综述。
Sensors (Basel). 2021 Mar 19;21(6):2165. doi: 10.3390/s21062165.
2
Sequential Mixed Cultures: From Syngas to Malic Acid.连续混合培养:从合成气到苹果酸
Front Microbiol. 2016 Jun 21;7:891. doi: 10.3389/fmicb.2016.00891. eCollection 2016.
3
Biofuel and chemical production from carbon one industry flux gas by acetogenic bacteria.产乙酸细菌利用一碳工业尾气生产生物燃料和化学品。
Adv Appl Microbiol. 2021;117:1-34. doi: 10.1016/bs.aambs.2021.07.001. Epub 2021 Aug 7.
4
The effects of CO and H on CO metabolism by pure and mixed microbial cultures.一氧化碳(CO)和氢气(H)对纯微生物培养物和混合微生物培养物中CO代谢的影响。
Biotechnol Biofuels. 2017 Sep 16;10:220. doi: 10.1186/s13068-017-0910-1. eCollection 2017.
5
Syngas Biorefinery and Syngas Utilization.合成气生物精炼与合成气利用
Adv Biochem Eng Biotechnol. 2019;166:247-280. doi: 10.1007/10_2017_5.
6
Online measurement of dissolved carbon monoxide concentrations reveals critical operating conditions in gas fermentation experiments.在线测量溶解一氧化碳浓度揭示了气体发酵实验中的关键操作条件。
Biotechnol Bioeng. 2021 Jan;118(1):253-264. doi: 10.1002/bit.27567. Epub 2020 Oct 1.
7
Microbiology of synthesis gas fermentation for biofuel production.用于生物燃料生产的合成气发酵微生物学。
Curr Opin Biotechnol. 2007 Jun;18(3):200-6. doi: 10.1016/j.copbio.2007.03.008. Epub 2007 Mar 30.
8
Biomass-derived syngas fermentation into biofuels: Opportunities and challenges.生物质合成气发酵生产生物燃料:机遇与挑战。
Bioresour Technol. 2010 Jul;101(13):5013-22. doi: 10.1016/j.biortech.2009.12.098. Epub 2010 Jan 21.
9
Measurement and prediction of mass transfer coefficients for syngas constituents in a hollow fiber reactor.测量和预测中空纤维反应器中合成气组分的传质系数。
Bioresour Technol. 2019 Mar;276:1-7. doi: 10.1016/j.biortech.2018.12.092. Epub 2018 Dec 27.
10
Conversion of Carbon Monoxide to Chemicals Using Microbial Consortia.利用微生物共生体将一氧化碳转化为化学品。
Adv Biochem Eng Biotechnol. 2022;180:373-407. doi: 10.1007/10_2021_180.

引用本文的文献

1
Understanding microbial syngas fermentation rates.了解微生物合成气发酵速率。
Appl Microbiol Biotechnol. 2024 Dec 20;108(1):540. doi: 10.1007/s00253-024-13364-3.
2
Downscaling Industrial-Scale Syngas Fermentation to Simulate Frequent and Irregular Dissolved Gas Concentration Shocks.将工业规模的合成气发酵规模缩小,以模拟频繁且不规则的溶解气体浓度冲击。
Bioengineering (Basel). 2023 Apr 25;10(5):518. doi: 10.3390/bioengineering10050518.
3
Syngas Fermentation to Acetate and Ethanol with Adaptative Electroactive Carboxydotrophs in Single Chambered Microbial Electrochemical System.

本文引用的文献

1
Measurement and prediction of mass transfer coefficients for syngas constituents in a hollow fiber reactor.测量和预测中空纤维反应器中合成气组分的传质系数。
Bioresour Technol. 2019 Mar;276:1-7. doi: 10.1016/j.biortech.2018.12.092. Epub 2018 Dec 27.
2
A near-infrared fluorescent probe for rapid detection of carbon monoxide in living cells.一种用于活细胞中一氧化碳快速检测的近红外荧光探针。
Spectrochim Acta A Mol Biomol Spectrosc. 2018 Sep 5;202:284-289. doi: 10.1016/j.saa.2018.05.059. Epub 2018 May 16.
3
Turn-on and Turn-off Fluorescent Probes for Carbon Monoxide Detection and Blood Carboxyhemoglobin Determination.
在单室微生物电化学系统中利用适应性电活性羧基营养菌将合成气发酵为乙酸盐和乙醇
Micromachines (Basel). 2022 Jun 21;13(7):980. doi: 10.3390/mi13070980.
一氧化碳检测和血液碳氧血红蛋白测定的荧光探针的开与关。
ACS Sens. 2018 Jun 22;3(6):1102-1108. doi: 10.1021/acssensors.8b00083. Epub 2018 May 25.
4
Bioluminescence Imaging of Carbon Monoxide in Living Cells and Nude Mice Based on Pd-Mediated Tsuji-Trost Reaction.基于 Pd 介导的 Tsuji-Trost 反应的活细胞和裸鼠内一氧化碳的生物发光成像。
Anal Chem. 2018 May 1;90(9):5951-5958. doi: 10.1021/acs.analchem.8b01102. Epub 2018 Apr 17.
5
Palladacycle Based Fluorescence Turn-On Probe for Sensitive Detection of Carbon Monoxide.基于钯环的荧光“开启”探针用于一氧化碳的灵敏检测。
ACS Sens. 2018 Feb 23;3(2):285-289. doi: 10.1021/acssensors.7b00835. Epub 2018 Feb 6.
6
Optical Fiber Grating Hydrogen Sensors: A Review.光纤光栅氢传感器综述
Sensors (Basel). 2017 Mar 12;17(3):577. doi: 10.3390/s17030577.
7
Room-temperature CO Thermoelectric Gas Sensor based on Au/CoO Catalyst Tablet.基于 Au/CoO 催化剂片的室温 CO 热释电气体传感器。
Nanotechnology. 2017 Feb 17;28(7):075501. doi: 10.1088/1361-6528/aa53f9. Epub 2016 Dec 15.
8
Readily Available Fluorescent Probe for Carbon Monoxide Imaging in Living Cells.用于活细胞一氧化碳成像的现成荧光探针。
Anal Chem. 2016 Nov 1;88(21):10648-10653. doi: 10.1021/acs.analchem.6b03073. Epub 2016 Oct 20.
9
Chromo-fluorogenic probes for carbon monoxide detection.用于一氧化碳检测的荧光探针。
Chem Commun (Camb). 2016 May 1;52(35):5902-11. doi: 10.1039/c6cc01335j. Epub 2016 Mar 31.
10
Butanol and hexanol production in Clostridium carboxidivorans syngas fermentation: Medium development and culture techniques.梭菌发酵合成气生产丁醇和己醇:培养基开发和培养技术。
Bioresour Technol. 2015 Aug;190:114-21. doi: 10.1016/j.biortech.2015.04.043. Epub 2015 Apr 22.