Suppr超能文献

基于自适应滤波器组的 SP-WVD 射频传感器用于低 RCS 目标非线性微多普勒特征/模式成像系统。

SP-WVD with Adaptive-Filter-Bank-Supported RF Sensor for Low RCS Targets' Nonlinear Micro-Doppler Signature/Pattern Imaging System.

机构信息

Electronics Engineering, Defence Institute of Advanced Technology, Pune 411025, India.

出版信息

Sensors (Basel). 2022 Feb 4;22(3):1186. doi: 10.3390/s22031186.

Abstract

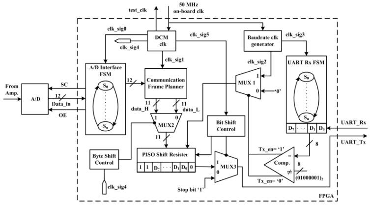
In this study, the authors present the accurate imaging of the behavior of simultaneous operations of multiple low radar cross-section (RCS) aerial targets. Currently, the popularity of low RCS targets is increasing day by day, and detection and identification of these targets have become critical issues. Micro-Doppler signatures are key components for detecting and identifying these low RCS targets. For this, an innovative approach is proposed along with the smooth pseudo-Wigner-Ville distribution (SP-WVD) and adaptive filter bank to improve the attenuation of cross-term interferences to generate more accurate images for the micro-Doppler signatures/patterns of simultaneous multiple targets. A C-band (5.3 GHz) radio-frequency (RF) sensor is designed and used to acquire the micro-Doppler signatures of aerial rotational, flapping, and motional low RCS targets. Digital pipelined-parallel architecture is designed inside the Xilinx field-programable gate array (FPGA) for fast sensor data collection, data preprocessing, and interface to the computer (imaging algorithm). The experimental results of the proposed approach are validated with the results of the classical short-term Fourier transform (STFT), continuous wavelet transform (CWT), and smooth pseudo-Wigner Ville distribution (SP-WVD). Realistic open-field outdoor experiments are conducted covering different simultaneous postures of (i) two-/three-blade propeller/roto systems, (ii) flapping bionic bird, and (iii) kinetic warhead targets. The associated experimental results and findings are reported and analyzed in this paper. The limitations and possible future research studies are also discussed in the conclusion.

摘要

在这项研究中,作者展示了对多个低雷达散射截面 (RCS) 空中目标同时操作行为的精确成像。目前,低 RCS 目标的普及程度日益提高,对这些目标的检测和识别已成为关键问题。微多普勒特征是检测和识别这些低 RCS 目标的关键组成部分。为此,提出了一种创新方法,结合平滑伪魏格纳-维尔分布(SP-WVD)和自适应滤波器组,以改善交叉项干扰的衰减,为同时多个目标的微多普勒特征/模式生成更准确的图像。设计了一个 C 波段(5.3GHz)射频(RF)传感器,用于获取旋转、拍打和运动的低 RCS 空中目标的微多普勒特征。在 Xilinx 现场可编程门阵列(FPGA)内部设计了数字流水线并行架构,用于快速传感器数据采集、数据预处理和与计算机的接口(成像算法)。所提出方法的实验结果与经典的短时傅里叶变换(STFT)、连续小波变换(CWT)和平滑伪魏格纳-维尔分布(SP-WVD)的结果进行了验证。进行了真实的户外开放场实验,涵盖了(i)两个/三个叶片螺旋桨/旋转系统、(ii)拍打仿生鸟和(iii)运动弹头目标的不同同时姿态。本文报告和分析了相关的实验结果和发现。在结论中还讨论了局限性和可能的未来研究方向。

https://cdn.ncbi.nlm.nih.gov/pmc/blobs/c4e9/8839565/9a24b44ce301/sensors-22-01186-g001.jpg

文献检索

告别复杂PubMed语法,用中文像聊天一样搜索,搜遍4000万医学文献。AI智能推荐,让科研检索更轻松。

立即免费搜索

文件翻译

保留排版,准确专业,支持PDF/Word/PPT等文件格式,支持 12+语言互译。

免费翻译文档

深度研究

AI帮你快速写综述,25分钟生成高质量综述,智能提取关键信息,辅助科研写作。

立即免费体验