Suppr超能文献

使用智能手机应用程序研究帕金森病和其他突触核蛋白病的语音生物标志物的研究方案:SMARTSPEECH。

Study protocol for using a smartphone application to investigate speech biomarkers of Parkinson's disease and other synucleinopathies: SMARTSPEECH.

机构信息

Department of Circuit Theory, Faculty of Electrical Engineering, Czech Technical University in Prague, Prague, Czech Republic.

Department of Circuit Theory, Faculty of Electrical Engineering, Czech Technical University in Prague, Prague, Czech Republic

出版信息

BMJ Open. 2022 Jun 30;12(6):e059871. doi: 10.1136/bmjopen-2021-059871.

Abstract

INTRODUCTION

Early identification of Parkinson's disease (PD) in its prodromal stage has fundamental implications for the future development of neuroprotective therapies. However, no sufficiently accurate biomarkers of prodromal PD are currently available to facilitate early identification. The vocal assessment of patients with isolated rapid eye movement sleep behaviour disorder (iRBD) and PD appears to have intriguing potential as a diagnostic and progressive biomarker of PD and related synucleinopathies.

METHODS AND ANALYSIS

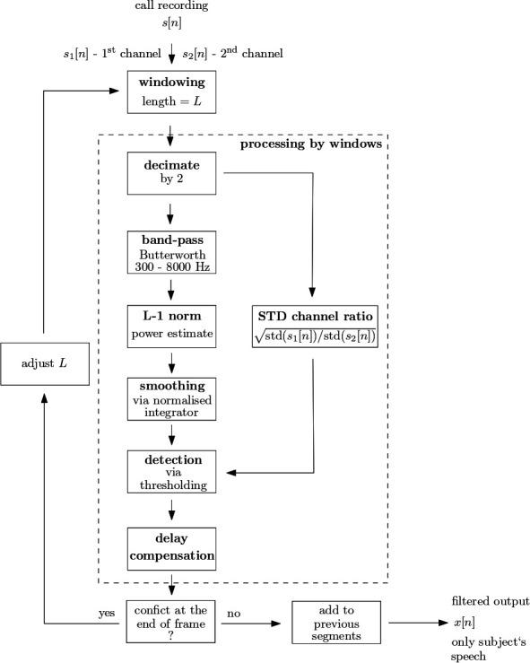
Speech patterns in the spontaneous speech of iRBD, early PD and control participants' voice calls will be collected from data acquired via a developed smartphone application over a period of 2 years. A significant increase in several aspects of PD-related speech disorders is expected, and is anticipated to reflect the underlying neurodegeneration processes.

ETHICS AND DISSEMINATION

The study has been approved by the Ethics Committee of the General University Hospital in Prague, Czech Republic and all the participants will provide written, informed consent prior to their inclusion in the research. The application satisfies the General Data Protection Regulation law requirements of the European Union. The study findings will be published in peer-reviewed journals and presented at international scientific conferences.

摘要

简介

在帕金森病(PD)的前驱期尽早识别具有重要意义,这将有助于未来开发神经保护疗法。然而,目前尚无足够准确的前驱期 PD 生物标志物来促进早期识别。孤立性快速眼动睡眠行为障碍(iRBD)和 PD 患者的语音评估似乎具有令人感兴趣的潜力,可作为 PD 和相关突触核蛋白病的诊断和进展生物标志物。

方法与分析

将通过开发的智能手机应用程序在 2 年内收集 iRBD、早期 PD 和对照组参与者的语音呼叫中的自发语音模式。预计 PD 相关言语障碍的几个方面会出现显著增加,并预计反映潜在的神经退行性过程。

伦理与传播

该研究已获得捷克布拉格总医院伦理委员会的批准,所有参与者将在被纳入研究前提供书面知情同意书。该应用程序符合欧盟《通用数据保护条例》的法律要求。研究结果将发表在同行评议的期刊上,并在国际科学会议上展示。

https://cdn.ncbi.nlm.nih.gov/pmc/blobs/fe8a/9247696/86b4060ae677/bmjopen-2021-059871f01.jpg

文献检索

告别复杂PubMed语法,用中文像聊天一样搜索,搜遍4000万医学文献。AI智能推荐,让科研检索更轻松。

立即免费搜索

文件翻译

保留排版,准确专业,支持PDF/Word/PPT等文件格式,支持 12+语言互译。

免费翻译文档

深度研究

AI帮你快速写综述,25分钟生成高质量综述,智能提取关键信息,辅助科研写作。

立即免费体验