• 文献检索
  • 文档翻译
  • 深度研究
  • 学术资讯
  • Suppr Zotero 插件Zotero 插件
  • 邀请有礼
  • 套餐&价格
  • 历史记录
应用&插件
Suppr Zotero 插件Zotero 插件浏览器插件Mac 客户端Windows 客户端微信小程序
定价
高级版会员购买积分包购买API积分包
服务
文献检索文档翻译深度研究API 文档MCP 服务
关于我们
关于 Suppr公司介绍联系我们用户协议隐私条款
关注我们

Suppr 超能文献

核心技术专利:CN118964589B侵权必究
粤ICP备2023148730 号-1Suppr @ 2026

文献检索

告别复杂PubMed语法,用中文像聊天一样搜索,搜遍4000万医学文献。AI智能推荐,让科研检索更轻松。

立即免费搜索

文件翻译

保留排版,准确专业,支持PDF/Word/PPT等文件格式,支持 12+语言互译。

免费翻译文档

深度研究

AI帮你快速写综述,25分钟生成高质量综述,智能提取关键信息,辅助科研写作。

立即免费体验

足板在泰勒空间框架中治疗后天性马蹄足或马蹄内翻足畸形的应用。

Application of a Foot Plate in the Taylor Spatial Frame for the Treatment of Acquired Equinus or Equinovarus Deformities.

作者信息

Vancastell Thylane E, Ianniello Sander V, Abdelhakim-Edres Kareem, Muscat Joseph, Krkovic Matija

机构信息

Trauma and Orthopedic Surgery, Addenbrooke's Hospital, Cambridge University Hospitals National Health Service (NHS) Foundation Trust, Cambridge, GBR.

Trauma and Orthopedics, The Queen Elizabeth Hospital King's Lynn National Health Service (NHS) Foundation Trust, King's Lynn, GBR.

出版信息

Cureus. 2025 May 25;17(5):e84763. doi: 10.7759/cureus.84763. eCollection 2025 May.

DOI:10.7759/cureus.84763
PMID:40556987
原文链接:https://pmc.ncbi.nlm.nih.gov/articles/PMC12186124/
Abstract

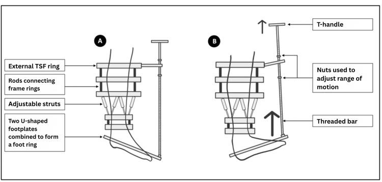
Fine wire frames are extensively utilized in the management of complex lower limb fractures and for deformity correction. Patients may develop equinus or equinovarus deformities in their feet due to the intricacies associated with the treatment. This may occur due to an inability to exercise and bear weight on the foot for various reasons or, more commonly, as a consequence of reverse tibial bone transport, in which the corticotomy is performed at the distal fragment, resulting in proximal bone transport. This technical note delineates the application of a foot plate to an existing fine wire frame when conservative management of equinus deformity of the foot has proven inadequate. The primary advantage of this technique lies in its capacity to facilitate a gradual increase in the movement of the ankle joint, all while being relatively minimally invasive. Our preliminary findings suggest that this method is safe and effective; however, it is imperative to note that there is a relatively high risk of recurrence of the deformity if the regained range of movement is not adequately protected through bracing or physiotherapy following the removal of the foot plate.

摘要

细钢丝框架广泛应用于复杂下肢骨折的治疗和畸形矫正。由于治疗相关的复杂性,患者足部可能会出现马蹄足或马蹄内翻畸形。这可能是由于各种原因导致无法活动足部并负重,或者更常见的是由于胫骨反向骨运输,即在远端骨折块进行皮质切开术,导致近端骨运输。本技术说明阐述了在足部马蹄足畸形保守治疗已证明不足时,将足板应用于现有的细钢丝框架的方法。该技术的主要优点在于能够促进踝关节活动逐渐增加,同时相对微创。我们的初步研究结果表明该方法安全有效;然而,必须注意的是,如果在拆除足板后没有通过支具或物理治疗充分保护恢复的活动范围,畸形复发的风险相对较高。

https://cdn.ncbi.nlm.nih.gov/pmc/blobs/7c99/12186124/3f2f3d4e4cad/cureus-0017-00000084763-i06.jpg
https://cdn.ncbi.nlm.nih.gov/pmc/blobs/7c99/12186124/174ffe3d1ec6/cureus-0017-00000084763-i01.jpg
https://cdn.ncbi.nlm.nih.gov/pmc/blobs/7c99/12186124/c2e484e98e78/cureus-0017-00000084763-i02.jpg
https://cdn.ncbi.nlm.nih.gov/pmc/blobs/7c99/12186124/c570e7834460/cureus-0017-00000084763-i03.jpg
https://cdn.ncbi.nlm.nih.gov/pmc/blobs/7c99/12186124/5dfce4945de6/cureus-0017-00000084763-i04.jpg
https://cdn.ncbi.nlm.nih.gov/pmc/blobs/7c99/12186124/da05560450b0/cureus-0017-00000084763-i05.jpg
https://cdn.ncbi.nlm.nih.gov/pmc/blobs/7c99/12186124/3f2f3d4e4cad/cureus-0017-00000084763-i06.jpg
https://cdn.ncbi.nlm.nih.gov/pmc/blobs/7c99/12186124/174ffe3d1ec6/cureus-0017-00000084763-i01.jpg
https://cdn.ncbi.nlm.nih.gov/pmc/blobs/7c99/12186124/c2e484e98e78/cureus-0017-00000084763-i02.jpg
https://cdn.ncbi.nlm.nih.gov/pmc/blobs/7c99/12186124/c570e7834460/cureus-0017-00000084763-i03.jpg
https://cdn.ncbi.nlm.nih.gov/pmc/blobs/7c99/12186124/5dfce4945de6/cureus-0017-00000084763-i04.jpg
https://cdn.ncbi.nlm.nih.gov/pmc/blobs/7c99/12186124/da05560450b0/cureus-0017-00000084763-i05.jpg
https://cdn.ncbi.nlm.nih.gov/pmc/blobs/7c99/12186124/3f2f3d4e4cad/cureus-0017-00000084763-i06.jpg

相似文献

1
Application of a Foot Plate in the Taylor Spatial Frame for the Treatment of Acquired Equinus or Equinovarus Deformities.足板在泰勒空间框架中治疗后天性马蹄足或马蹄内翻足畸形的应用。
Cureus. 2025 May 25;17(5):e84763. doi: 10.7759/cureus.84763. eCollection 2025 May.
2
[Surgical strategies for osteotomy correction of severe lower limb deformities in hypophosphatemic rickets].[低磷性佝偻病严重下肢畸形截骨矫正的手术策略]
Zhongguo Xiu Fu Chong Jian Wai Ke Za Zhi. 2025 Jun 15;39(6):701-707. doi: 10.7507/1002-1892.202503128.
3
Home treatment for mental health problems: a systematic review.心理健康问题的居家治疗:一项系统综述
Health Technol Assess. 2001;5(15):1-139. doi: 10.3310/hta5150.
4
Running shoes for preventing lower limb running injuries in adults.预防成年人下肢跑步损伤的跑鞋。
Cochrane Database Syst Rev. 2022 Aug 22;8(8):CD013368. doi: 10.1002/14651858.CD013368.pub2.
5
Lumbar sympathectomy versus prostanoids for critical limb ischaemia due to non-reconstructable peripheral arterial disease.腰交感神经切除术与前列腺素类药物治疗因不可重建的外周动脉疾病导致的严重肢体缺血的比较
Cochrane Database Syst Rev. 2018 Apr 16;4(4):CD009366. doi: 10.1002/14651858.CD009366.pub2.
6
Systemic pharmacological treatments for chronic plaque psoriasis: a network meta-analysis.系统性药理学治疗慢性斑块状银屑病:网络荟萃分析。
Cochrane Database Syst Rev. 2021 Apr 19;4(4):CD011535. doi: 10.1002/14651858.CD011535.pub4.
7
Incentives for preventing smoking in children and adolescents.预防儿童和青少年吸烟的激励措施。
Cochrane Database Syst Rev. 2017 Jun 6;6(6):CD008645. doi: 10.1002/14651858.CD008645.pub3.
8
Acupuncture for acute hordeolum.针刺治疗急性睑腺炎
Cochrane Database Syst Rev. 2017 Feb 9;2(2):CD011075. doi: 10.1002/14651858.CD011075.pub2.
9
Surveillance of Barrett's oesophagus: exploring the uncertainty through systematic review, expert workshop and economic modelling.巴雷特食管的监测:通过系统评价、专家研讨会和经济模型探索不确定性
Health Technol Assess. 2006 Mar;10(8):1-142, iii-iv. doi: 10.3310/hta10080.
10
A rapid and systematic review of the clinical effectiveness and cost-effectiveness of paclitaxel, docetaxel, gemcitabine and vinorelbine in non-small-cell lung cancer.对紫杉醇、多西他赛、吉西他滨和长春瑞滨在非小细胞肺癌中的临床疗效和成本效益进行的快速系统评价。
Health Technol Assess. 2001;5(32):1-195. doi: 10.3310/hta5320.

本文引用的文献

1
Rehabilitation Techniques for Adults Undergoing External Fixation Treatment for Lower Limb Reconstruction: A Systematic Review.接受下肢重建外固定治疗的成人康复技术:一项系统评价
Strategies Trauma Limb Reconstr. 2024 Jan-Apr;19(1):45-55. doi: 10.5005/jp-journals-10080-1609.
2
The Impact of Operative Correction of Equinus in Cerebral Palsy on Gait Patterns.脑性瘫痪马蹄足手术矫正对步态模式的影响
Foot Ankle Int. 2024 Feb;45(2):130-140. doi: 10.1177/10711007231217273. Epub 2023 Dec 29.
3
Developments in circular external fixators: A review.
环形外固定器的发展:综述。
Injury. 2023 Dec;54(12):111157. doi: 10.1016/j.injury.2023.111157. Epub 2023 Oct 26.
4
The Gradual Correction of Adult Severe Rigid Equinus Deformity Using Minimal Invasive U-Osteotomy With Taylor Spatial Frame.使用泰勒空间框架的微创U形截骨术逐步矫正成人重度僵硬马蹄内翻畸形
Foot Ankle Int. 2023 Jan;44(1):62-70. doi: 10.1177/10711007221138240. Epub 2022 Dec 20.
5
Taylor Spatial Frame in Treatment of Equinus Deformity.泰勒空间框架治疗马蹄足畸形
Strategies Trauma Limb Reconstr. 2020 Jan-Apr;15(1):28-33. doi: 10.5005/jp-journals-10080-1452.
6
Management of Achilles Tendon Rupture Complications.
Instr Course Lect. 2018 Feb 15;67:275-282.
7
Stretch for the treatment and prevention of contracture: an abridged republication of a Cochrane Systematic Review.伸展运动治疗和预防挛缩:Cochrane 系统评价的精简再版。
J Physiother. 2017 Apr;63(2):67-75. doi: 10.1016/j.jphys.2017.02.014. Epub 2017 Mar 14.
8
Equinus and Lengthening Techniques.马蹄足及延长技术。
Clin Podiatr Med Surg. 2017 Apr;34(2):207-227. doi: 10.1016/j.cpm.2016.10.008. Epub 2017 Jan 19.
9
Surgical techniques of gastrocnemius lengthening.腓肠肌延长术的手术技巧。
Foot Ankle Clin. 2014 Dec;19(4):745-65. doi: 10.1016/j.fcl.2014.08.007. Epub 2014 Sep 20.
10
Recurrence after correction of acquired ankle equinus deformity in children using Ilizarov technique.采用伊里扎洛夫技术矫正儿童后天性马蹄足畸形后的复发情况。
Strategies Trauma Limb Reconstr. 2008 Dec;3(3):105-8. doi: 10.1007/s11751-008-0045-9. Epub 2008 Nov 20.