• 文献检索
  • 文档翻译
  • 深度研究
  • 学术资讯
  • Suppr Zotero 插件Zotero 插件
  • 邀请有礼
  • 套餐&价格
  • 历史记录
应用&插件
Suppr Zotero 插件Zotero 插件浏览器插件Mac 客户端Windows 客户端微信小程序
定价
高级版会员购买积分包购买API积分包
服务
文献检索文档翻译深度研究API 文档MCP 服务
关于我们
关于 Suppr公司介绍联系我们用户协议隐私条款
关注我们

Suppr 超能文献

核心技术专利:CN118964589B侵权必究
粤ICP备2023148730 号-1Suppr @ 2026

文献检索

告别复杂PubMed语法,用中文像聊天一样搜索,搜遍4000万医学文献。AI智能推荐,让科研检索更轻松。

立即免费搜索

文件翻译

保留排版,准确专业,支持PDF/Word/PPT等文件格式,支持 12+语言互译。

免费翻译文档

深度研究

AI帮你快速写综述,25分钟生成高质量综述,智能提取关键信息,辅助科研写作。

立即免费体验

家蚕和野桑蚕的核苷酸多样性和选择特征。

Nucleotide diversity and selection signature in the domesticated silkworm, Bombyx mori, and wild silkworm, Bombyx mandarina.

机构信息

The Key Sericultural Laboratory of Agricultural Ministry, Southwest University, Chongqing 400715, China.

出版信息

J Insect Sci. 2011;11:155. doi: 10.1673/031.011.15501.

DOI:10.1673/031.011.15501
PMID:22239062
原文链接:https://pmc.ncbi.nlm.nih.gov/articles/PMC3391917/
Abstract

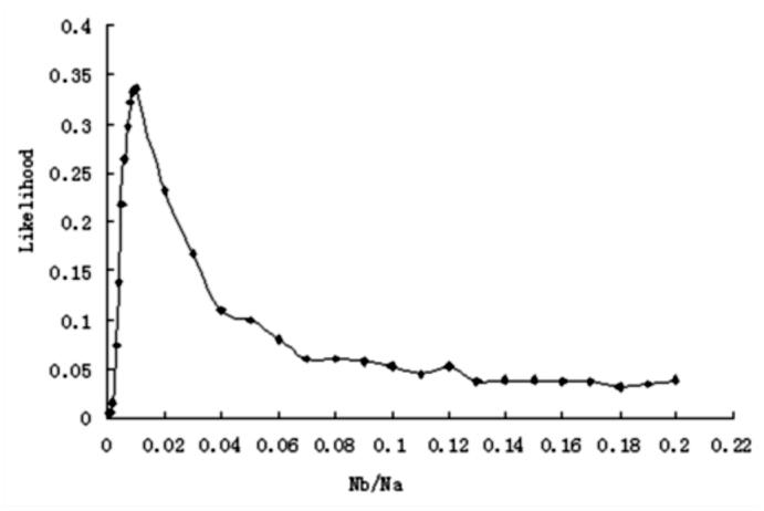
To investigate the patterns of nucleotide diversity in domesticated silkworm, Bombyx mori L. (Lepidoptera: Bombycidae) and its wild relative, Chinese wild silkworm, Bombyx mandarina Moore, we sequenced nine nuclear genes. Neutrality test and coalescent simulation for these genes were performed to look at bottleneck intensity and selection signature; linkage disequilibrium (LD) within and between loci was employed to investigate allele association. As a result, B. mori lost 33-49% of nucleotide diversity relative to wild silkworm, which is similar to the loss levels found in major cultivated crops. Diversity of B. mori is significantly lower than that of B. mandarina measured as π(total) (0.01166 vs. 0.1741) or θ(W)(0.01124 vs. 0.02206). Bottleneck intensity of domesticated silkworm is 1.5 (in terms of k = N(b) /d, N(b) -bottleneck population size; d-bottleneck duration) with different durations. Gene DefA showed signature of artificial selection by all analysis methods and might experience strong artificial selection in B. mori during domestication. For nine loci, both curves of LD decay rapidly within 200 bp and drop slowly when distance is > 200 bp, although that of B. mori decays slower than B. mandarina at loci investigated. However, LD could not be estimated at DefA in B. mori and at ER in both silkworms. Elevated LD observed in B. mori may be indicator of selection and demographic events.

摘要

为了研究家养蚕(鳞翅目:蚕科)及其野生亲缘种,中国野桑蚕(Bombyx mandarina Moore)的核苷酸多样性模式,我们对 9 个核基因进行了测序。针对这些基因,我们进行了中性检验和合并模拟,以观察瓶颈强度和选择特征;在基因内部和基因之间,我们还进行了连锁不平衡(LD)分析,以研究等位基因的关联性。结果表明,相对于野桑蚕,家蚕丧失了 33-49%的核苷酸多样性,这与主要栽培作物的丧失水平相似。家蚕的多样性明显低于野桑蚕,具体表现为π(总)(0.01166 对 0.1741)或θ(W)(0.01124 对 0.02206)。家养蚕的瓶颈强度为 1.5(以 k = N(b) / d 表示,N(b) -瓶颈种群规模;d -瓶颈持续时间),具有不同的持续时间。DefA 基因通过所有分析方法都显示出人工选择的特征,在驯化过程中,它可能在家蚕中经历了强烈的人工选择。对于 9 个基因座,LD 衰减曲线在 200 bp 以内迅速衰减,而当距离大于 200 bp 时缓慢衰减,尽管在所研究的基因座中,家蚕的衰减速度比野桑蚕慢。然而,在 DefA 基因座中无法在家蚕中估计 LD,而在两个蚕种的 ER 基因座中也无法估计 LD。在家蚕中观察到的升高的 LD 可能是选择和种群事件的指标。

https://cdn.ncbi.nlm.nih.gov/pmc/blobs/faa4/3391917/49b61b1b8072/sf02_01.jpg
https://cdn.ncbi.nlm.nih.gov/pmc/blobs/faa4/3391917/3d820957c833/f01_01.jpg
https://cdn.ncbi.nlm.nih.gov/pmc/blobs/faa4/3391917/565b998804ac/f02_01.jpg
https://cdn.ncbi.nlm.nih.gov/pmc/blobs/faa4/3391917/fc0c6a24c502/f03_01.jpg
https://cdn.ncbi.nlm.nih.gov/pmc/blobs/faa4/3391917/cb9728f63a6d/f04_01.jpg
https://cdn.ncbi.nlm.nih.gov/pmc/blobs/faa4/3391917/df08ca2278e9/f05_01.jpg
https://cdn.ncbi.nlm.nih.gov/pmc/blobs/faa4/3391917/26c26bca97f1/sf01_01.jpg
https://cdn.ncbi.nlm.nih.gov/pmc/blobs/faa4/3391917/49b61b1b8072/sf02_01.jpg
https://cdn.ncbi.nlm.nih.gov/pmc/blobs/faa4/3391917/3d820957c833/f01_01.jpg
https://cdn.ncbi.nlm.nih.gov/pmc/blobs/faa4/3391917/565b998804ac/f02_01.jpg
https://cdn.ncbi.nlm.nih.gov/pmc/blobs/faa4/3391917/fc0c6a24c502/f03_01.jpg
https://cdn.ncbi.nlm.nih.gov/pmc/blobs/faa4/3391917/cb9728f63a6d/f04_01.jpg
https://cdn.ncbi.nlm.nih.gov/pmc/blobs/faa4/3391917/df08ca2278e9/f05_01.jpg
https://cdn.ncbi.nlm.nih.gov/pmc/blobs/faa4/3391917/26c26bca97f1/sf01_01.jpg
https://cdn.ncbi.nlm.nih.gov/pmc/blobs/faa4/3391917/49b61b1b8072/sf02_01.jpg

相似文献

1
Nucleotide diversity and selection signature in the domesticated silkworm, Bombyx mori, and wild silkworm, Bombyx mandarina.家蚕和野桑蚕的核苷酸多样性和选择特征。
J Insect Sci. 2011;11:155. doi: 10.1673/031.011.15501.
2
Evidence of selection at melanin synthesis pathway loci during silkworm domestication.家蚕驯化过程中黑色素合成途径基因座的选择证据。
Mol Biol Evol. 2011 Jun;28(6):1785-99. doi: 10.1093/molbev/msr002. Epub 2011 Jan 6.
3
Genetic diversity, molecular phylogeny and selection evidence of the silkworm mitochondria implicated by complete resequencing of 41 genomes.通过对 41 个基因组的完整重测序揭示了家蚕线粒体的遗传多样性、分子系统发育和选择证据。
BMC Evol Biol. 2010 Mar 24;10:81. doi: 10.1186/1471-2148-10-81.
4
Molecular phylogeny of the domesticated silkworm, Bombyx mori, based on the sequences of mitochondrial cytochrome b genes.基于线粒体细胞色素b基因序列的家蚕分子系统发育研究
J Genet. 2005 Aug;84(2):137-42. doi: 10.1007/BF02715839.
5
Little gene flow between domestic silkmoth Bombyx mori and its wild relative Bombyx mandarina in Japan, and possible artificial selection on the CAD gene of B. mori.日本家蚕(Bombyx mori)与其野生近缘种野桑蚕(Bombyx mandarina)之间基因流动较少,以及家蚕CAD基因可能受到的人工选择。
Genes Genet Syst. 2012;87(5):331-40. doi: 10.1266/ggs.87.331.
6
Comparative mitochondrial genomes provide new insights into the true wild progenitor and origin of domestic silkworm Bombyx mori.比较线粒体基因组为家蚕的真正野生祖先是如何起源的提供了新的见解。
Int J Biol Macromol. 2019 Jun 15;131:176-183. doi: 10.1016/j.ijbiomac.2019.03.002. Epub 2019 Mar 2.
7
M chromosome of the wild silkworm, Bombyx mandarina (n = 27), corresponds to two chromosomes in the domesticated silkworm, Bombyx mori (n = 28).野蚕(Bombyx mandarina,n = 27)的M染色体相当于家蚕(Bombyx mori,n = 28)中的两条染色体。
Genome. 2004 Feb;47(1):96-101. doi: 10.1139/g03-112.
8
The effect of W chromosome origin on sex-chromosome pairing in ZZWW tetraploid females of the domesticated silkworm, Bombyx mori, and the congenic wild silkworm, Bombyx mandarina.W染色体起源对家蚕(Bombyx mori)和同基因野蚕(Bombyx mandarina)的ZZWW四倍体雌性中性染色体配对的影响。
Genetica. 2002;114(1):89-94. doi: 10.1023/a:1014638723413.
9
Phylogeographic Relationships among (Lepidoptera: Bombycidae) Populations and Their Relationships to Inferred from Mitochondrial Genomes.基于线粒体基因组推断的家蚕(鳞翅目:蚕蛾科)种群间系统发育地理关系及其与地理分布的关系
Biology (Basel). 2022 Jan 3;11(1):68. doi: 10.3390/biology11010068.
10
Allele-specific knockouts reveal a role for apontic-like in the evolutionary loss of larval melanin pigmentation in the domesticated silkworm, Bombyx mori.等位基因特异性敲除揭示了 apontic-like 在驯化家蚕(Bombyx mori)幼虫黑色素沉着进化丧失中的作用。
Insect Mol Biol. 2022 Dec;31(6):701-710. doi: 10.1111/imb.12797. Epub 2022 Jul 12.

引用本文的文献

1
Bridging Nature and Engineering: Protein-Derived Materials for Bio-Inspired Applications.架起自然与工程的桥梁:用于仿生应用的蛋白质衍生材料。
Biomimetics (Basel). 2024 Jun 20;9(6):373. doi: 10.3390/biomimetics9060373.
2
Midgut serine proteinases participate in dietary adaptations of the castor (Eri) silkworm Anderson transferred from to an ancestral host, Roxb.中肠丝氨酸蛋白酶参与蓖麻蚕从其现代宿主转移至祖先宿主木薯蚕的饮食适应性过程。
Front Insect Sci. 2023 Aug 10;3:1169596. doi: 10.3389/finsc.2023.1169596. eCollection 2023.
3
Comparative Silk Transcriptomics Illuminates Distinctive Impact of Artificial Selection in Silkworm Modern Breeding.

本文引用的文献

1
Linkage disequilibrium in finite populations.有限群体中的连锁不平衡。
Theor Appl Genet. 1968 Jun;38(6):226-31. doi: 10.1007/BF01245622.
2
Genomic hotspots for adaptation: the population genetics of Müllerian mimicry in Heliconius erato.适应的基因组热点:海伦娜闪蝶属 Müllerian 拟态的种群遗传学。
PLoS Genet. 2010 Feb 5;6(2):e1000796. doi: 10.1371/journal.pgen.1000796.
3
Population genetic inference from genomic sequence variation.从基因组序列变异推断种群遗传
比较丝转录组学揭示人工选择对家蚕现代育种的独特影响。
Insects. 2022 Dec 16;13(12):1163. doi: 10.3390/insects13121163.
4
Population Evolution, Genetic Diversity and Structure of the Medicinal Legume, and the Effects of Geographical Distribution on Leaves Nutrient Elements and Photosynthesis.药用豆科植物的种群进化、遗传多样性与结构以及地理分布对叶片营养元素和光合作用的影响。
Front Plant Sci. 2022 Jan 7;12:708709. doi: 10.3389/fpls.2021.708709. eCollection 2021.
5
Phylogeographic Relationships among (Lepidoptera: Bombycidae) Populations and Their Relationships to Inferred from Mitochondrial Genomes.基于线粒体基因组推断的家蚕(鳞翅目:蚕蛾科)种群间系统发育地理关系及其与地理分布的关系
Biology (Basel). 2022 Jan 3;11(1):68. doi: 10.3390/biology11010068.
6
Silkworm and spider silk electrospinning: a review.蚕茧丝与蜘蛛丝的静电纺丝:综述
Environ Chem Lett. 2021;19(2):1737-1763. doi: 10.1007/s10311-020-01147-x. Epub 2021 Jan 4.
7
Alternative moth-eye nanostructures: antireflective properties and composition of dimpled corneal nanocoatings in silk-moth ancestors.另类蛾眼纳米结构:蚕蛾祖先中凹坑状角膜纳米涂层的抗反射特性及成分
J Nanobiotechnology. 2017 Sep 6;15(1):61. doi: 10.1186/s12951-017-0297-y.
8
The potential for adaptive maintenance of diversity in insect antimicrobial peptides.昆虫抗菌肽多样性的适应性维持潜力。
Philos Trans R Soc Lond B Biol Sci. 2016 May 26;371(1695). doi: 10.1098/rstb.2015.0291.
9
Signatures of selection in tilapia revealed by whole genome resequencing.通过全基因组重测序揭示罗非鱼的选择特征。
Sci Rep. 2015 Sep 16;5:14168. doi: 10.1038/srep14168.
10
Demographic history and gene flow during silkworm domestication.家蚕驯化过程中的人口历史和基因流动。
BMC Evol Biol. 2014 Aug 14;14:185. doi: 10.1186/s12862-014-0185-0.
Genome Res. 2010 Mar;20(3):291-300. doi: 10.1101/gr.079509.108. Epub 2010 Jan 12.
4
Complete resequencing of 40 genomes reveals domestication events and genes in silkworm (Bombyx).40个基因组的完整重测序揭示了家蚕的驯化事件和基因。
Science. 2009 Oct 16;326(5951):433-6. doi: 10.1126/science.1176620. Epub 2009 Aug 27.
5
Tracking footprints of maize domestication and evidence for a massive selective sweep on chromosome 10.追踪玉米驯化的足迹及10号染色体上大规模选择性清除的证据。
Proc Natl Acad Sci U S A. 2009 Jun 16;106 Suppl 1(Suppl 1):9979-86. doi: 10.1073/pnas.0901122106. Epub 2009 Jun 15.
6
Multilocus sequence data reveal extensive departures from equilibrium in domesticated tomato (Solanum lycopersicum L.).多位点序列数据显示,驯化番茄(Solanum lycopersicum L.)存在广泛的非平衡偏差。
Heredity (Edinb). 2009 Sep;103(3):257-67. doi: 10.1038/hdy.2009.58. Epub 2009 May 13.
7
DnaSP v5: a software for comprehensive analysis of DNA polymorphism data.DnaSP v5:一款用于DNA多态性数据综合分析的软件。
Bioinformatics. 2009 Jun 1;25(11):1451-2. doi: 10.1093/bioinformatics/btp187. Epub 2009 Apr 3.
8
Next-generation DNA sequencing.下一代DNA测序
Nat Biotechnol. 2008 Oct;26(10):1135-45. doi: 10.1038/nbt1486.
9
A genome-wide analysis of genes and gene families involved in innate immunity of Bombyx mori.家蚕先天免疫相关基因及基因家族的全基因组分析。
Insect Biochem Mol Biol. 2008 Dec;38(12):1087-110. doi: 10.1016/j.ibmb.2008.09.001. Epub 2008 Sep 16.
10
Mapping short DNA sequencing reads and calling variants using mapping quality scores.使用比对质量分数比对短DNA测序读数并识别变异。
Genome Res. 2008 Nov;18(11):1851-8. doi: 10.1101/gr.078212.108. Epub 2008 Aug 19.