Suppr超能文献

运动:老年慢性心力衰竭患者的“新药”

Exercise: a "new drug" for elderly patients with chronic heart failure.

作者信息

Antonicelli Roberto, Spazzafumo Liana, Scalvini Simonetta, Olivieri Fabiola, Matassini Maria Vittoria, Parati Gianfranco, Del Sindaco Donatella, Gallo Raffaella, Lattanzio Fabrizia

机构信息

Department of Cardiology, INRCA-IRCCS National Institute, Ancona, Italy.

Biostatistics Centre, INRCA-IRCCS National Institute, Ancona, Italy.

出版信息

Aging (Albany NY). 2016 May;8(5):860-72. doi: 10.18632/aging.100901.

Abstract

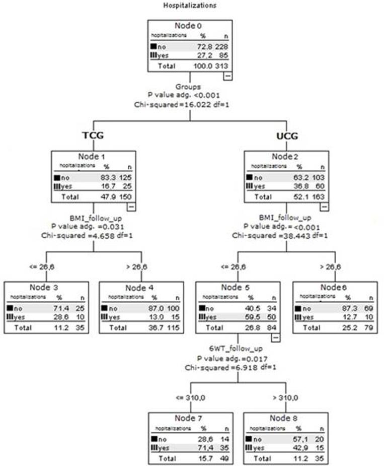
Patients with chronic heart failure (CHF) experience progressive deterioration of functional capacity and quality of life (QoL). This prospective, randomized, controlled trial assesses the effect of exercise training (ET) protocol on functional capacity, rehospitalization, and QoL in CHF patients older than 70 years compared with a control group. A total of 343 elderly patients with stable CHF (age, 76.90±5.67, men, 195, 56.9%) were randomized to ET (TCG, n=170) or usual care (UCG, n=173). The ET protocol involved supervised training sessions for 3 months in the hospital followed by home-telemonitored sessions for 3 months. Assessments, performed at baseline and at 3 and 6 months, included: ECG, resting echocardiography, NT-proBNP, 6-minute walk test (6MWT), Minnesota Living with Heart Failure Questionnaire, and comprehensive geriatric assessment with the InterRAI-HC instrument. As compared to UCG, ET patients at 6 months showed: i) significantly increased 6MWT distance (450±83 vs. 290±97 m, p=0.001); ii) increased ADL scores (5.00±2.49 vs. 6.94±5.66, p=0.037); iii) 40% reduced risk of rehospitalisation (hazard ratio=0.558, 95%CI, 0.326-0.954, p=0.033); and iv) significantly improved perceived QoL (28.6±12.3 vs. 44.5±12.3, p=0.001). In hospital and home-based telemonitored exercise confer significant benefits on the oldest CHF patients, improving functional capacity and subjective QoL and reducing risk of rehospitalisation.

摘要

慢性心力衰竭(CHF)患者的功能能力和生活质量(QoL)会逐渐恶化。这项前瞻性、随机、对照试验评估了运动训练(ET)方案对70岁以上CHF患者功能能力、再住院率和生活质量的影响,并与对照组进行比较。共有343例稳定型CHF老年患者(年龄76.90±5.67岁,男性195例,占56.9%)被随机分为ET组(n=170)或常规治疗组(UCG,n=173)。ET方案包括在医院进行3个月的监督训练课程,随后进行3个月的家庭远程监测课程。在基线、3个月和6个月时进行的评估包括:心电图、静息超声心动图、NT-proBNP、6分钟步行试验(6MWT)、明尼苏达心力衰竭生活问卷,以及使用InterRAI-HC工具进行的综合老年评估。与UCG组相比,ET组患者在6个月时表现出:i)6MWT距离显著增加(450±83 vs. 290±97 m,p=0.001);ii)日常生活活动能力(ADL)评分增加(5.00±2.49 vs. 6.94±5.66,p=0.037);iii)再住院风险降低40%(风险比=0.558,95%CI,0.326-0.954,p=0.033);iv)主观生活质量显著改善(28.6±12.3 vs. 44.5±12.3,p=0.001)。住院和家庭远程监测运动对年龄最大的CHF患者有显著益处,可改善功能能力和主观生活质量,并降低再住院风险。

https://cdn.ncbi.nlm.nih.gov/pmc/blobs/9acc/4931840/9720e3471789/aging-08-0860-g001.jpg

文献AI研究员

20分钟写一篇综述,助力文献阅读效率提升50倍。

立即体验

用中文搜PubMed

大模型驱动的PubMed中文搜索引擎

马上搜索

文档翻译

学术文献翻译模型,支持多种主流文档格式。

立即体验