Suppr超能文献

全球人才流失:动机的马斯洛理论如何帮助我们理解医生移民?

Global Brain Drain: How Can the Maslow Theory of Motivation Improve Our Understanding of Physician Migration?

机构信息

Department of Anesthesia, Critical Care, and Pain Medicine, Massachusetts General Hospital, Boston, MA 02114, USA.

DO/MBA Student, Philadelphia College of Osteopathic Medicine, Philadelphia, PA 19131, USA.

出版信息

Int J Environ Res Public Health. 2019 Apr 2;16(7):1182. doi: 10.3390/ijerph16071182.

Abstract

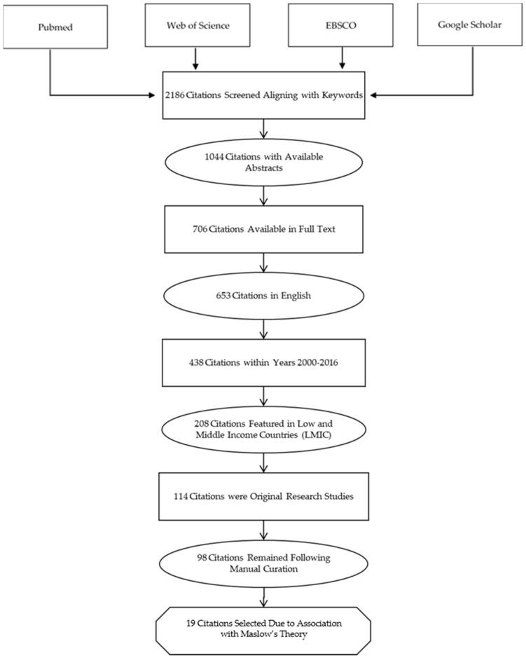
The migration of physicians from low-resource to high-resource settings is a prevalent global phenomenon that is insufficiently understood. Most low-income countries are severely understaffed with physicians, and the emigration of the already limited number of physicians to other countries can significantly reduce access to healthcare in the source country. Despite a growing interest in global capacity building in these countries by academic and non-governmental organizations in high-income countries, efforts to stem physician migration have been mostly unsuccessful. The authors reviewed the current literature for the motivational factors leading to physician migration in the context of Maslow's hierarchy of human needs. Our study found that financial safety needs were major drivers of physician emigration. However, factors related to self-actualization such as the desire for professional development through training opportunities and research, were also major contributors. These findings highlight the multifactorial nature of physician motivations to emigrate from low-resource countries. Maslow's Theory of Motivation may provide a useful framework for future studies evaluating the concerns of physicians in low-income countries and as a guide to incentivize retention.

摘要

医生从资源匮乏的环境向资源丰富的环境流动是一种普遍的全球现象,但人们对此认识不足。大多数低收入国家的医生严重短缺,而已经为数不多的医生移民到其他国家,会使来源国的医疗服务可及性大大降低。尽管高收入国家的学术和非政府组织对这些国家的全球能力建设越来越感兴趣,但遏制医生外流的努力大多没有成功。作者在马斯洛人类需求层次理论的背景下,回顾了导致医生迁移的动机因素的现有文献。我们的研究发现,财务安全需求是医生移民的主要驱动因素。然而,自我实现相关的因素,如通过培训机会和研究获得专业发展的愿望,也是主要因素。这些发现突出了医生从资源匮乏国家移民的动机的多因素性质。马斯洛的动机理论可能为未来评估低收入国家医生关注的问题以及激励保留的研究提供一个有用的框架。

https://cdn.ncbi.nlm.nih.gov/pmc/blobs/16e0/6479547/0dacb585b76d/ijerph-16-01182-g001.jpg

文献检索

告别复杂PubMed语法,用中文像聊天一样搜索,搜遍4000万医学文献。AI智能推荐,让科研检索更轻松。

立即免费搜索

文件翻译

保留排版,准确专业,支持PDF/Word/PPT等文件格式,支持 12+语言互译。

免费翻译文档

深度研究

AI帮你快速写综述,25分钟生成高质量综述,智能提取关键信息,辅助科研写作。

立即免费体验