Department of Obstetrics and Gynaecology, Hospital Universitario de la Ribera, FISABIO. Crta. Corbera km 1, 46600 Valencia, Spain.
Department of Nursing, Faculty of Nursing and Podiatry, Universitat de València, Jaume Roig, s/n, 46010 Valencia, Spain.
Int J Environ Res Public Health. 2020 Feb 29;17(5):1575. doi: 10.3390/ijerph17051575.
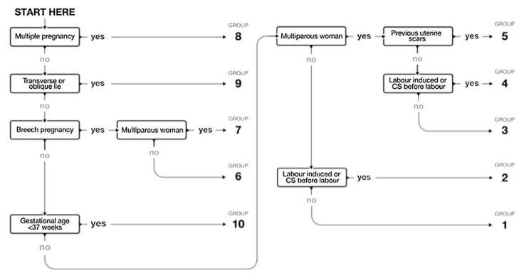
The WHO recommends the use of the Robson ten-group classification system (RTGCS) as an effective monitoring and analysis tool to assess the use of caesarean sections (CS). The present study aimed to conduct an analysis of births using the RTGCS in La Ribera University Hospital over nine years and to assess the levels and trends of CS births.
Retrospective study between January 1, 2010, and December 31, 2018. All eligible women were allocated in RTGCS to determine the absolute and relative contribution made by each group to the overall CS rate; linear regression and weighted least squares regression analysis were used to analyze trends over time. The risk of CS of women with induced versus spontaneous onset of labor was calculated with an odds ratio (OR) with a 95% CI.
16,506 women gave birth during the study period, 19% of them by CS. Overall, 20.4% of women were in group 1 (nulliparous, singleton cephalic, term, spontaneous labor), 29.4% in group 2 (nulliparous, singleton cephalic, term, induced labor or caesarean before labor), and 12.8% in group 4 (multiparous, singleton cephalic, term, induced or caesarean delivery before labor) made the most significant contributions to the overall rate of CS; Conclusions: In our study, Robson Groups 1, 2, and 4, were identified as the main contributors to the hospital's overall CS rate. The RTGCS provides an easy way of collecting information about the CS rate, is a valuable clinical method that allows standardized comparison of data, and time point, and identifies the groups driving changes in CS rates.
世界卫生组织(WHO)推荐使用 Robson 十组分类系统(RTGCS)作为一种有效的监测和分析工具,以评估剖宫产(CS)的使用情况。本研究旨在对拉·里贝拉大学医院九年来使用 RTGCS 的分娩情况进行分析,并评估 CS 分娩的水平和趋势。
这是一项回顾性研究,研究时间为 2010 年 1 月 1 日至 2018 年 12 月 31 日。所有符合条件的女性均被分配到 RTGCS 中,以确定每个组对总体 CS 率的绝对和相对贡献;线性回归和加权最小二乘回归分析用于分析随时间的趋势。用比值比(OR)及其 95%置信区间(CI)计算有诱导分娩和自发分娩的女性 CS 风险。
在研究期间,有 16506 名女性分娩,其中 19%为 CS。总体而言,20.4%的女性为第 1 组(初产妇,单胎头位,足月,自发分娩),29.4%为第 2 组(初产妇,单胎头位,足月,引产或产前行剖宫产),12.8%为第 4 组(经产妇,单胎头位,足月,引产或产前行剖宫产)对总体 CS 率的贡献最大;结论:在我们的研究中,Robson 第 1、2 和 4 组被确定为医院总体 CS 率的主要贡献者。RTGCS 提供了一种收集 CS 率信息的简便方法,是一种有价值的临床方法,允许对数据进行标准化比较,并可确定导致 CS 率变化的群体。