• 文献检索
  • 文档翻译
  • 深度研究
  • 学术资讯
  • Suppr Zotero 插件Zotero 插件
  • 邀请有礼
  • 套餐&价格
  • 历史记录
应用&插件
Suppr Zotero 插件Zotero 插件浏览器插件Mac 客户端Windows 客户端微信小程序
定价
高级版会员购买积分包购买API积分包
服务
文献检索文档翻译深度研究API 文档MCP 服务
关于我们
关于 Suppr公司介绍联系我们用户协议隐私条款
关注我们

Suppr 超能文献

核心技术专利:CN118964589B侵权必究
粤ICP备2023148730 号-1Suppr @ 2026

文献检索

告别复杂PubMed语法,用中文像聊天一样搜索,搜遍4000万医学文献。AI智能推荐,让科研检索更轻松。

立即免费搜索

文件翻译

保留排版,准确专业,支持PDF/Word/PPT等文件格式,支持 12+语言互译。

免费翻译文档

深度研究

AI帮你快速写综述,25分钟生成高质量综述,智能提取关键信息,辅助科研写作。

立即免费体验

一种利用机械声振动辅助激光焊接过程的新方法。

A Novel Method of Supporting the Laser Welding Process with Mechanical Acoustic Vibrations.

作者信息

Krajewski Arkadiusz, Klekot Grzegorz, Cybulak Marcin, Kołodziejczak Paweł

机构信息

Faculty of Production Engineering, Warsaw University of Technology, 02-524 Warsaw, Poland.

Faculty of Automotive and Construction Machinery Engineering, Warsaw University of Technology, 02-524 Warsaw, Poland.

出版信息

Materials (Basel). 2020 Sep 20;13(18):4179. doi: 10.3390/ma13184179.

DOI:10.3390/ma13184179
PMID:32962262
原文链接:https://pmc.ncbi.nlm.nih.gov/articles/PMC7560479/
Abstract

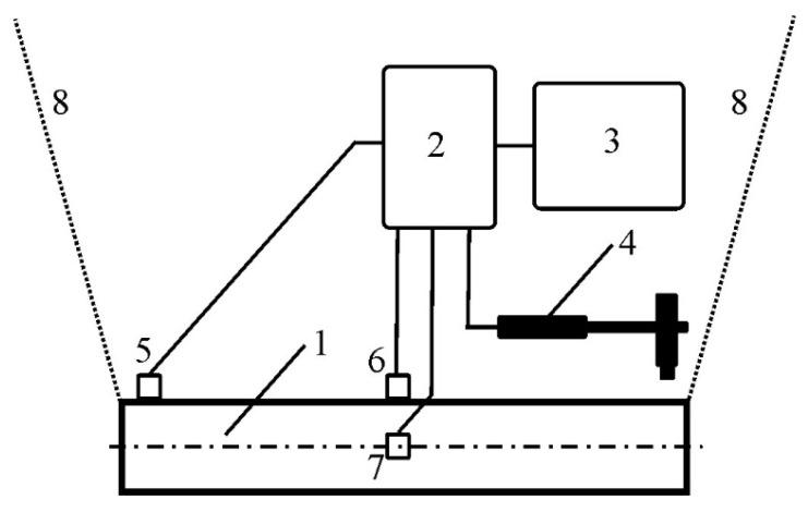
The research described in this article presents a new contactless method of introducing mechanical vibrations into the base material during CO laser welding of low-carbon steel. The experimental procedure boiled down to subjecting a P235GH steel pipe with a 60 mm diameter, 3.2 mm wall thickness and 500 mm length to acoustic signals with a resonant frequency during the welding process. Acoustic vibrations with a frequency of 1385, 110 and 50 Hz were introduced into the pipe along the axis and transversely from the outer surface. The obtained welds were then subjected to structural tests and Vickers hardness measurements. The results of comparative tests show the impact of such introduced vibrations on the granular structure of the welds, as well as on their microhardness in specific areas, such as the face, penetration depth and the heat-affected zone. The effectiveness of the proposed method of introducing vibrations in the scope of grain size and shape as well as changes in the hardness distribution in the obtained welds is demonstrated.

摘要

本文所述研究提出了一种在低碳钢的CO激光焊接过程中将机械振动引入母材的新型非接触式方法。实验过程归结为在焊接过程中,使一根直径60毫米、壁厚3.2毫米、长度500毫米的P235GH钢管受到具有共振频率的声学信号作用。频率为1385、110和50赫兹的声学振动沿轴线并从外表面横向引入到钢管中。然后对所获得的焊缝进行结构测试和维氏硬度测量。对比测试结果显示了这种引入的振动对焊缝颗粒结构的影响,以及对焊缝特定区域(如焊缝表面、熔深和热影响区)的显微硬度的影响。证明了所提出的引入振动方法在焊缝晶粒尺寸和形状范围以及所获焊缝硬度分布变化方面的有效性。

https://cdn.ncbi.nlm.nih.gov/pmc/blobs/910c/7560479/76f2feb24123/materials-13-04179-g008.jpg
https://cdn.ncbi.nlm.nih.gov/pmc/blobs/910c/7560479/9600d2ae2c49/materials-13-04179-g001.jpg
https://cdn.ncbi.nlm.nih.gov/pmc/blobs/910c/7560479/67336c0f58cc/materials-13-04179-g002.jpg
https://cdn.ncbi.nlm.nih.gov/pmc/blobs/910c/7560479/278d14122132/materials-13-04179-g003.jpg
https://cdn.ncbi.nlm.nih.gov/pmc/blobs/910c/7560479/114c01e807f2/materials-13-04179-g004.jpg
https://cdn.ncbi.nlm.nih.gov/pmc/blobs/910c/7560479/d066d087f170/materials-13-04179-g005a.jpg
https://cdn.ncbi.nlm.nih.gov/pmc/blobs/910c/7560479/d8be60f61e72/materials-13-04179-g006a.jpg
https://cdn.ncbi.nlm.nih.gov/pmc/blobs/910c/7560479/9b657a474c88/materials-13-04179-g007a.jpg
https://cdn.ncbi.nlm.nih.gov/pmc/blobs/910c/7560479/76f2feb24123/materials-13-04179-g008.jpg
https://cdn.ncbi.nlm.nih.gov/pmc/blobs/910c/7560479/9600d2ae2c49/materials-13-04179-g001.jpg
https://cdn.ncbi.nlm.nih.gov/pmc/blobs/910c/7560479/67336c0f58cc/materials-13-04179-g002.jpg
https://cdn.ncbi.nlm.nih.gov/pmc/blobs/910c/7560479/278d14122132/materials-13-04179-g003.jpg
https://cdn.ncbi.nlm.nih.gov/pmc/blobs/910c/7560479/114c01e807f2/materials-13-04179-g004.jpg
https://cdn.ncbi.nlm.nih.gov/pmc/blobs/910c/7560479/d066d087f170/materials-13-04179-g005a.jpg
https://cdn.ncbi.nlm.nih.gov/pmc/blobs/910c/7560479/d8be60f61e72/materials-13-04179-g006a.jpg
https://cdn.ncbi.nlm.nih.gov/pmc/blobs/910c/7560479/9b657a474c88/materials-13-04179-g007a.jpg
https://cdn.ncbi.nlm.nih.gov/pmc/blobs/910c/7560479/76f2feb24123/materials-13-04179-g008.jpg

相似文献

1
A Novel Method of Supporting the Laser Welding Process with Mechanical Acoustic Vibrations.一种利用机械声振动辅助激光焊接过程的新方法。
Materials (Basel). 2020 Sep 20;13(18):4179. doi: 10.3390/ma13184179.
2
Analysis of the Impact of Acoustic Vibrations on the Laser Beam Remelting Process.声学振动对激光束重熔过程影响的分析
Materials (Basel). 2022 Sep 15;15(18):6402. doi: 10.3390/ma15186402.
3
Steel Sheets Laser Lap Joint Welding-Process Analysis.钢板激光搭接焊接工艺分析
Materials (Basel). 2020 May 14;13(10):2258. doi: 10.3390/ma13102258.
4
[The study on mechanical properties of laser welds of titanium in dentistry].[牙科钛激光焊接的力学性能研究]
Zhonghua Kou Qiang Yi Xue Za Zhi. 1999 Mar;34(2):120-2.
5
Microstructures of brazings and welds using grade 2 commercially pure titanium.使用2级工业纯钛的钎焊和焊接的微观结构。
Int J Prosthodont. 2001 Jan-Feb;14(1):40-7.
6
Generating Lap Joints Via Friction Stir Spot Welding on DP780 Steel.通过搅拌摩擦点焊在DP780钢上生成搭接接头。
J Vis Exp. 2019 Aug 13(150). doi: 10.3791/58633.
7
The Effect of Localized Vibration during Welding on the Microstructure and Mechanical Behavior of Steel Welds.焊接过程中局部振动对钢焊缝微观结构和力学性能的影响。
Materials (Basel). 2019 Aug 10;12(16):2553. doi: 10.3390/ma12162553.
8
Effect of Quenching Tempering-Post Weld Heat Treatment on the Microstructure and Mechanical Properties of Laser-Arc Hybrid-Welded Boron Steel.淬火回火-焊后热处理对激光电弧复合焊接硼钢组织和力学性能的影响
Materials (Basel). 2019 Sep 5;12(18):2862. doi: 10.3390/ma12182862.
9
An Investigation of the Microstructure of an Intermetallic Layer in Welding Aluminum Alloys to Steel by MIG Process.用熔化极惰性气体保护电弧焊工艺将铝合金与钢焊接时金属间化合物层微观结构的研究
Materials (Basel). 2015 Dec 2;8(12):8246-8254. doi: 10.3390/ma8125444.
10
Microstructure Evolution and Strengthening Mechanism of Galvanized Steel/Mg Alloy Joint Obtained by Ultrasonic Vibration-Assisted Welding Process.超声振动辅助焊接工艺制备的镀锌钢/镁合金接头的微观结构演变及强化机制
Materials (Basel). 2021 Mar 29;14(7):1674. doi: 10.3390/ma14071674.

引用本文的文献

1
Analysis of the Impact of Acoustic Vibrations on the Laser Beam Remelting Process.声学振动对激光束重熔过程影响的分析
Materials (Basel). 2022 Sep 15;15(18):6402. doi: 10.3390/ma15186402.
2
Real-Time High-Performance Laser Welding Defect Detection by Combining ACGAN-Based Data Enhancement and Multi-Model Fusion.基于 ACGAN 的数据增强与多模型融合的实时高性能激光焊接缺陷检测
Sensors (Basel). 2021 Nov 2;21(21):7304. doi: 10.3390/s21217304.

本文引用的文献

1
Investigating the Advantages of Ultrasonic-assisted Welding Technique Applied in Underwater Wet Welding by in-situ X-ray Imaging Method.采用原位X射线成像法研究超声辅助焊接技术在水下湿法焊接中的优势。
Materials (Basel). 2020 Mar 21;13(6):1442. doi: 10.3390/ma13061442.
2
Characteristics of Periodic Ultrasonic Assisted TIG Welding for 2219 Aluminum Alloys.2219铝合金的周期性超声辅助TIG焊接特性
Materials (Basel). 2019 Dec 6;12(24):4081. doi: 10.3390/ma12244081.
3
Enhanced laser crystallization of thin film amorphous molybdenum disulfide (MoS) by means of pulsed laser ultrasound.
通过脉冲激光超声增强非晶态二硫化钼(MoS)薄膜的激光结晶。
Opt Express. 2019 Feb 18;27(4):5859-5873. doi: 10.1364/OE.27.005859.
4
The ultrasonic characteristics of high frequency modulated arc and its application in material processing.高频调制电弧的超声特性及其在材料加工中的应用。
Ultrasonics. 2014 Dec;54(8):2178-83. doi: 10.1016/j.ultras.2014.06.003. Epub 2014 Jun 24.