Suppr超能文献

气动软体仿生驱动器的研制与性能分析

Development and Performance Analysis of Pneumatic Soft-Bodied Bionic Actuator.

作者信息

Zhao Wenchuan, Zhang Yu, Wang Ning

机构信息

School of Mechanical Engineering, Shenyang University of Technology, Shenyang 110870, China.

出版信息

Appl Bionics Biomech. 2021 Feb 17;2021:6623059. doi: 10.1155/2021/6623059. eCollection 2021.

Abstract

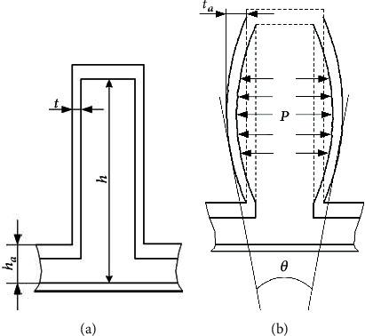
The design of a pneumatic soft-bodied bionic actuator derives from the structural characteristics and motion mechanism of biological muscles, combined with the nonlinear hyperelasticity of silica gel, which can improve the mobility and environmental adaptability of soft-bodied bionic robots. Based on Yeoh's second-order constitutive model of silica gel, the deformation analysis model of the actuator is established, and the rationality of the structure design and motion forms of the actuator and the accuracy of the deformation analysis model are verified by using the numerical simulation algorithm. According to the physical model of the pneumatic soft-bodied bionic actuator, the motion and dynamic characteristics of the actuator are tested and analyzed, the curves of motion and dynamic characteristics of the actuator are obtained, and the empirical formula of the bending angle and driving torque of the actuator is fitted out. The results show that the deformation analysis model and numerical simulation method are accurate, and the pneumatic soft-bodied bionic actuator is feasible and effective, which can provide a design method and reference basis for the research and implementation of soft-bodied bionic robot actuator.

摘要

气动软体仿生驱动器的设计源于生物肌肉的结构特征和运动机制,并结合了硅胶的非线性超弹性,这可以提高软体仿生机器人的机动性和环境适应性。基于Yeoh的硅胶二阶本构模型,建立了驱动器的变形分析模型,并利用数值模拟算法验证了驱动器结构设计和运动形式的合理性以及变形分析模型的准确性。根据气动软体仿生驱动器的物理模型,对驱动器的运动和动力学特性进行了测试和分析,得到了驱动器的运动和动力学特性曲线,并拟合出了驱动器弯曲角度和驱动扭矩的经验公式。结果表明,变形分析模型和数值模拟方法准确,气动软体仿生驱动器可行且有效,可为软体仿生机器人驱动器的研究与实现提供设计方法和参考依据。

https://cdn.ncbi.nlm.nih.gov/pmc/blobs/1e43/7910062/885838a27de1/ABB2021-6623059.001.jpg

文献检索

告别复杂PubMed语法,用中文像聊天一样搜索,搜遍4000万医学文献。AI智能推荐,让科研检索更轻松。

立即免费搜索

文件翻译

保留排版,准确专业,支持PDF/Word/PPT等文件格式,支持 12+语言互译。

免费翻译文档

深度研究

AI帮你快速写综述,25分钟生成高质量综述,智能提取关键信息,辅助科研写作。

立即免费体验