Suppr超能文献

超高分子量聚乙烯(UHMWPE)粉末的循环冲击压实及压坯性能

Cyclic Impact Compaction of an Ultra High Molecular Weight Polyethylene (UHMWPE) Powder and Properties of the Compacts.

作者信息

Shtertser Alexandr, Zlobin Boris, Kiselev Victor, Shemelin Sergei, Ukhina Arina, Dudina Dina

机构信息

Lavrentyev Institute of Hydrodynamics, Siberian Branch of the Russian Academy of Sciences, Lavrentyev Ave. 15, 630090 Novosibirsk, Russia.

Design and Technology Branch of Lavrentyev Institute of Hydrodynamics, Siberian Branch of the Russian Academy of Sciences, Tereshkovoi Str. 29, 630090 Novosibirsk, Russia.

出版信息

Materials (Basel). 2022 Sep 27;15(19):6706. doi: 10.3390/ma15196706.

Abstract

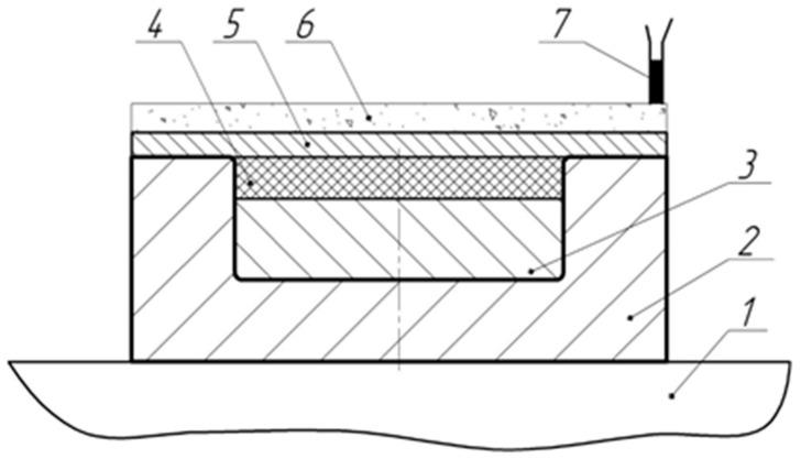
Experiments on Cyclic Impact Compaction (CIC) of UHMWPE powder GUR 4120 were carried out on a laboratory hydro-pneumatic impact device. This device provides impact energies of up to 1 kJ with a frequency of impacts of 9 s and enables producing dense and robust compacts in the form of disks with a diameter of up to 60 mm and a height of up to 24 mm. The optimal parameters of the CIC were determined, which are the preheating temperature of the powder, the impact energy and the number of impacts. The strength, Brinell hardness and elongation of the resulting compacts with a diameter of 40 mm and a height of 15 mm were 37.5 MPa, 49.0 MPa and 470%, respectively. The possibility of activating UHMWPE powder by explosive loading was studied. It was found that the explosive pretreatment reduces the mechanical properties of the resultant compacts. The CIC method is suitable for the manufacture of UHMWPE-based composites with nano-additives, as evidenced by the successful production of compacts containing nanoscale detonation carbon as an additive. The results of the present study show that the CIC method is promising for the industrial production of small-sized UHMWPE parts.

摘要

在实验室液压气动冲击装置上对超高分子量聚乙烯(UHMWPE)粉末GUR 4120进行了循环冲击压实(CIC)实验。该装置可提供高达1 kJ的冲击能量,冲击频率为9次/秒,能够生产出直径达60 mm、高度达24 mm的圆盘状致密且坚固的压坯。确定了CIC的最佳参数,即粉末的预热温度、冲击能量和冲击次数。所得直径为40 mm、高度为15 mm的压坯的强度、布氏硬度和伸长率分别为37.5 MPa、49.0 MPa和470%。研究了通过爆炸加载活化UHMWPE粉末的可能性。发现爆炸预处理会降低所得压坯的力学性能。CIC方法适用于制造含纳米添加剂的UHMWPE基复合材料,含纳米级爆轰碳添加剂的压坯的成功生产证明了这一点。本研究结果表明,CIC方法在工业生产小型UHMWPE零件方面具有前景。

https://cdn.ncbi.nlm.nih.gov/pmc/blobs/5186/9570798/b549df52c9bc/materials-15-06706-g001.jpg

文献AI研究员

20分钟写一篇综述,助力文献阅读效率提升50倍。

立即体验

用中文搜PubMed

大模型驱动的PubMed中文搜索引擎

马上搜索

文档翻译

学术文献翻译模型,支持多种主流文档格式。

立即体验