Suppr超能文献

基于粒子群优化算法的脑电信号峰值检测中的特征选择与分类器参数估计

Feature selection and classifier parameters estimation for EEG signals peak detection using particle swarm optimization.

作者信息

Adam Asrul, Shapiai Mohd Ibrahim, Tumari Mohd Zaidi Mohd, Mohamad Mohd Saberi, Mubin Marizan

机构信息

Applied Control and Robotics (ACR) Laboratory, Department of Electrical Engineering, Faculty of Engineering, University of Malaya, 50603 Kuala Lumpur, Malaysia.

Faculty of Electrical Engineering, Universiti Teknologi Malaysia, 81310 Johor Bahru, Malaysia.

出版信息

ScientificWorldJournal. 2014;2014:973063. doi: 10.1155/2014/973063. Epub 2014 Aug 19.

Abstract

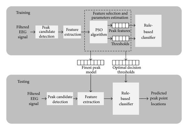
Electroencephalogram (EEG) signal peak detection is widely used in clinical applications. The peak point can be detected using several approaches, including time, frequency, time-frequency, and nonlinear domains depending on various peak features from several models. However, there is no study that provides the importance of every peak feature in contributing to a good and generalized model. In this study, feature selection and classifier parameters estimation based on particle swarm optimization (PSO) are proposed as a framework for peak detection on EEG signals in time domain analysis. Two versions of PSO are used in the study: (1) standard PSO and (2) random asynchronous particle swarm optimization (RA-PSO). The proposed framework tries to find the best combination of all the available features that offers good peak detection and a high classification rate from the results in the conducted experiments. The evaluation results indicate that the accuracy of the peak detection can be improved up to 99.90% and 98.59% for training and testing, respectively, as compared to the framework without feature selection adaptation. Additionally, the proposed framework based on RA-PSO offers a better and reliable classification rate as compared to standard PSO as it produces low variance model.

摘要

脑电图(EEG)信号峰值检测在临床应用中被广泛使用。根据几种模型的各种峰值特征,可以使用多种方法检测峰值点,包括时域、频域、时频域和非线性域。然而,没有研究表明每个峰值特征对构建一个良好且通用的模型的重要性。在本研究中,提出了基于粒子群优化(PSO)的特征选择和分类器参数估计方法,作为时域分析中脑电信号峰值检测的框架。本研究使用了两种版本的粒子群优化算法:(1)标准粒子群优化算法和(2)随机异步粒子群优化算法(RA - PSO)。所提出的框架试图找到所有可用特征的最佳组合,以便从所进行的实验结果中实现良好的峰值检测和高分类率。评估结果表明,与未进行特征选择适配的框架相比,峰值检测的准确率在训练和测试中分别可提高至99.90%和98.59%。此外,与标准粒子群优化算法相比,基于随机异步粒子群优化算法的框架提供了更好且可靠的分类率,因为它产生的模型方差较低。

https://cdn.ncbi.nlm.nih.gov/pmc/blobs/e51b/4157008/7a35c8be40e2/TSWJ2014-973063.001.jpg

文献检索

告别复杂PubMed语法,用中文像聊天一样搜索,搜遍4000万医学文献。AI智能推荐,让科研检索更轻松。

立即免费搜索

文件翻译

保留排版,准确专业,支持PDF/Word/PPT等文件格式,支持 12+语言互译。

免费翻译文档

深度研究

AI帮你快速写综述,25分钟生成高质量综述,智能提取关键信息,辅助科研写作。

立即免费体验