Suppr超能文献

燃料和技术对生物质炉灶颗粒物排放的影响——物理和化学性质的详细表征

Influence of Fuel and Technology on Particle Emissions from Biomass Cookstoves-Detailed Characterization of Physical and Chemical Properties.

作者信息

Lindgren Robert, García-López Natxo, Lovén Karin, Lundin Lisa, Pagels Joakim, Boman Christoffer

机构信息

Thermochemical Energy Conversion Laboratory, Department of Applied Physics and Electronics, Umeå University, SE-90187 Umeå, Sweden.

Ergonomics and Aerosol Technology, Lund University, LTH, SE-22100 Lund, Sweden.

出版信息

ACS Omega. 2025 Jan 29;10(5):4458-4472. doi: 10.1021/acsomega.4c07785. eCollection 2025 Feb 11.

Abstract

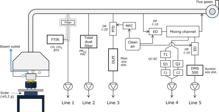
Globally, 3 billion people rely on solid biomass fuel for their everyday cooking, most often using inefficient cooking practices, leading to high exposure levels of household air pollution. This is subsequently associated with negative health and climate impact. Further, the inefficient use of biomass fuels applies pressure on natural forests, resulting in deforestation, loss of biodiversity, and soil degradation. Improved cookstove technologies and biomass fuels are being promoted to mitigate these issues. However, limited knowledge exists about how the interaction between stove technology and new fuels affects the physical and chemical properties of particulate emissions. In this study, the emission performance of four cookstove technologies in combination with five fuels was evaluated in a laboratory setup, applying a modified water boiling test with a hood dilution system for flue gas sampling. Filter sampling was applied to determine the emissions of fine particulate matter (PM) and for subsequent analysis of polycyclic aromatic compounds (PAC), organic- and elemental carbon, and inorganic composition. Particle mass size distribution was determined by using a 13-stage low-pressure cascade impactor. Online instruments were used to determine gaseous emissions (e.g., CO, CH, and BTX) as well as particle number size distribution. The results show that both the stove design and fuel properties influence the total emissions as well as the physiochemical PM characteristics. It was further seen that the impact of fuel on the PM properties did not translate linearly among the different stove technologies. This implies that each stove should be tested with various fuels to determine both the total emissions and fuel suitability.

摘要

在全球范围内,30亿人依靠固体生物质燃料进行日常烹饪,他们大多采用低效的烹饪方式,导致家庭空气污染暴露水平很高。这随后会对健康和气候产生负面影响。此外,生物质燃料的低效使用给天然森林带来压力,导致森林砍伐、生物多样性丧失和土壤退化。目前正在推广改进的炉灶技术和生物质燃料,以缓解这些问题。然而,关于炉灶技术与新燃料之间的相互作用如何影响颗粒物排放的物理和化学性质,人们了解有限。在本研究中,在实验室环境下评估了四种炉灶技术与五种燃料组合的排放性能,采用了带有用于烟气采样的罩式稀释系统的改良水煮试验。采用过滤采样来测定细颗粒物(PM)的排放,并随后分析多环芳烃(PAC)、有机碳和元素碳以及无机成分。使用13级低压串联撞击器测定颗粒质量粒径分布。使用在线仪器测定气态排放物(如一氧化碳、甲烷和苯系物)以及颗粒数粒径分布。结果表明,炉灶设计和燃料特性都会影响总排放量以及颗粒物的物理化学特性。还进一步发现,燃料对颗粒物特性的影响在不同炉灶技术之间并非呈线性关系。这意味着每种炉灶都应使用各种燃料进行测试,以确定总排放量和燃料适用性。

https://cdn.ncbi.nlm.nih.gov/pmc/blobs/149c/11822494/8a32e334d7dc/ao4c07785_0001.jpg

文献AI研究员

20分钟写一篇综述,助力文献阅读效率提升50倍。

立即体验

用中文搜PubMed

大模型驱动的PubMed中文搜索引擎

马上搜索

文档翻译

学术文献翻译模型,支持多种主流文档格式。

立即体验